oleg8013
Парабеллум для полиции. Безопасность, безопасность и ещё раз безопасность ( 29 фото )

Рис. 1. Полицейский Р.08, оснащённый предохранителем Шиви, с кобурой полицейского типа (фото автора)
Вопросам безопасного обращения с оружием всегда уделялось повышенное внимание, как в армии, так и во всех подразделениях иных государственных силовых структур, таких как, например, полиция. Неукоснительное соблюдение жёстких правил безопасности от стрелков требуется и в спорте. И эти требования практически идентичны во всех странах мира. Но небоевые потери личного состава из-за инцидентов с оружием, особенно в мирное время, к сожалению, происходили, происходят и, увы, будут происходить. По неофициальной статистике, около 50 % таких потерь среди сотрудников правоохранительных органов происходит из-за пренебрежительного отношения к соблюдению мер безопасности при обращении с оружием.
С тем, к чему это приводит, мне пришлось столкнуться во время прохождения службы в Группе советских войск в Германии (ГСВГ).
Отстояв сутки в наряде на БД, я пошёл в штаб полка, чтобы сдать свой табельный ПМ в оружейку. Подхожу к дверям комнаты Дежурного, и... слышу выстрел. Затем наступила звенящая тишина, которую прервал отборный мат. Открываю дверь, и вижу – стоит бледный прапорщик с макаровым в руке, в метре от него у окна – дежурный по полку с белым, как мел, лицом и сигаретой в руке. И ещё три офицера орут на прапорщика, понося его самыми последними словами.
Что же произошло?
Виновник переполоха тупо нарушил порядок разряжания пистолета Макрова. Стандартная процедура – сначала извлекается магазин, затем затвор отводится назад, дабы убедиться, что в стволе не остался патрон. Потом – контрольный спуск курка и постановка оружия на предохранитель.
То ли бессонная ночь в наряде, то ли просто разгильдяйство, но прапорщик сначала механически передёрнул затвор, затем вынул магазин и нажал на спусковой крючок. Патрон, понятно, остался в стволе, произошёл выстрел. По счастливой случайности пуля никого из находившихся в довольно тесном помещении не зацепила и после тройного рикошета вылетела в форточку мимо дежурного. Капитан, кстати, прошел дважды Афган, много повидал и пережил. Но, по его словам, он первый раз в жизни, литературно выражаясь, так дико испугался.
Надо сказать, в процессе эволюции огнестрельного оружия совершенствовались не только его убойные способности, но и устройства, делающие его безопасным в обращении.
Например, 6-зарядный капсюльный Colt Walker, разработанный в 1847 году, в целях безопасности снаряжался только 5-ю патронами, с тем, чтобы пустую камору можно было установить напротив спущенного курка, что позволяло стрелку безопасно носить заряженный револьвер, не боясь случайно его уронить или ударить, непреднамеренно инициировав выстрел. Причём все заряженные каморы спереди замазывались жиром во избежание воспламенения находящегося в них пороха от случайных искр при выстреле (тоже своего рода предохранитель).

Рис. 2. Кадр из вестерна «Мёртвый и быстрый» режиссёра Сэма Рэйми, где на 27-й минуте подробно показан процесс зарядки капсюльного револьвера Le Mat. Финишная операция – каморы барабана спереди тщательно замазываются жиром
Появление унитарного патрона избавило стрелка от выполнения этой процедуры. Тем не менее тот же знаменитый кольт «Миротворец» всё равно рекомендовали заряжать только пятью патронами.
Принятый на вооружение французской армии двадцатью шестью годами позже, револьвер «Шамело-Дельвинь» М 1873 уже имел УСМ с отбоем курка, который при не нажатом или отпущенном после выстрела спусковом крючке отводился на несколько миллиметров назад. В этом положении боёк курка не касался капсюля патрона, находящегося в каморе барабана, что позволяло совершенно безопасно носить оружие полностью заряженным.
Позже ударно-спусковые механизмы револьверов стали оснащаться так называемыми передаточными штангами, которые не позволяли бойку дотянуться до капсюля патрона в барабане револьвера, если не нажат спусковой крючок. Что делало оружие ещё более безопасным.

Рис. 3. Револьверы: Абади образца 1886 года, оснащённый УСМ с отбоем курка (вверху), и Sturm Ruger Speed Six 1970-х годов с передаточной штангой в УСМ (внизу) (фото автора)
Появление самозарядных пистолетов дало стимул для дальнейшего развития и предохранительных устройств для них. Особенно учитывая то, что в отличие от револьверов, визуально определить, есть ли патроны в магазине пистолета, было невозможно.
На свет появились предохранители различного вида и назначения. Одни – блокировали курок или ударник, не давая их спустить с боевого взвода и тем самым произвести выстрел. Другие – спусковой крючок, третьи – шептало. Одни – срабатывали при принудительном вращении/перемещении клавиши/кнопки, другие – при охвате рукоятки пистолета рукой, третьи – при вставленном/вынутом магазине.

Рис. 4. Пистолеты, оснащённые различными предохранителями. Слева направо: Зауэр 38Н имеет систему безопасного спуска курка и предохранитель; Фроммер 37М – предохранительный взвод курка, рукояточный и рычажный предохранители; Люгер 1900/06 – рукояточный и рычажный предохранители; венгерский FIREBIRD и испанский Star B – предохранительный взвод курка и рычажный предохранитель (фото автора)
Полёт мысли конструкторов не ограничивался просторами их фантазии... Но не всегда этот «полёт» приводил к нужным результатам. Наличие предохранительных устройств, ручных или автоматических, однозначно делало оружие более безопасным в обращении.
А вот всегда ли при этом исключалась возможность несанкционированного выстрела?
Если, скажем, конструктивные особенности оружия позволяют произвести из него выстрел в нештатной ситуации, будь то случайно или намеренно, то это, скорее всего, просчёт конструктора и, соответственно, несовершенство конструкции его детища (неисправность оружия в данном случае мы не берём в расчёт).
И не всегда удаётся компенсировать такие недостатки только строгим соблюдением требований и правил безопасного обращения с оружием, изложенных в руководстве пользователя или инструкции по эксплуатации каждого конкретного образца. Как правило, в таких «мануалах» они отражены очень подробно и со всеми нюансами.

Рис. 5. Страница оригинальной инструкции по эксплуатации к Р.08 (flick.com)
Опасный Парабеллум
Но, увы, предусмотреть всё невозможно.
Человеческий фактор никто не отменял – как показывает опыт, это главный источник опасности и подавляющего большинства несчастных случаев, будь это где-либо на производстве, дороге, в быту или на службе. И использование различных предохранительных устройств – одно из решений такой проблемы.
Но иногда и это не спасает. И тогда требуется дополнительная защита – так называемая, «защита от дурака», действующая автоматически, без необходимости участия в её активации человека.
Подобная ситуация сложилась и со знаменитым Парабеллумом.
Опыт использования пистолета в армии и полиции выявил одну неприятную особенность оружия. Конструкция 08-го и порядок его неполной разборки не исключали возможность несанкционированного выстрела при частично разобранном пистолете, если в патроннике оставался боевой патрон. Для этого достаточно было перед извлечением затворной группы из ствольной коробки случайно нажать на шептало.

Рис. 6. Та самая опасная точка – случайное нажатие на шептало в этом месте при взведённом ударнике – и может произойти выстрел, если в патроннике остался патрон (фото автора)
Опасность такого непреднамеренного выстрела признавали все пользователи P.08. Поэтому во избежание подобных инцидентов командованием армии и флота Германии регулярно издавались инструкции, плакаты, иллюстрированные листовки для обучения личного состава безопасному обращению с Pistole 08.

Рис. 7. Обучающий настенный плакат люфтваффе, изданный командующим зенитными войсками: «Осторожно: здесь угрожает опасность». Красным цветом выделено шептало и показан патрон в патроннике. Младший капрал, разбирающий пистолет, большим пальцем левой руки опасно приблизился к шепталу
Но руководство немецкой полиции сочло такие меры недостаточными.
И оно предприняло дополнительные и более радикальные шаги для того, чтобы свести к минимуму подобные инциденты с Р.08, имевшие место, как правило, при разборке оружия для его чистки.
Случилось это на фоне бурных исторических событий, потрясших Германию после Первой мировой войны.
Полиция времён Веймарской республики
9 ноября 1918 года революция левых свергла кайзера и 11 ноября принудила Германию заключить перемирие. Рейх перестал быть монархией, установилась парламентская форма правления. Веймарская конституция вступила в силу с подписанием ее президентом Фридрихом Эбертом 11 августа 1919 года.
Во вновь созданной республике было мало организаций для поддержания порядка. Общенациональная полиция отсутствовала. Существовали органы внутренних дел отдельных государств, входящих в федерацию. Потому как все полицейские полномочиями были делегированы в соответствии с новой конституцией семнадцати землям Германии. Пруссия среди них была самой могущественной.
Кроме того, в землях существовали добровольные организации по охране правопорядка – Общественная полиция (Gemeindepolizei). Также отдельно в каждой земле существовали органы государственной безопасности, например, Прусская политическая полиция (Preußische politische Polizei) и т. д.
В дополнение к организованной полиции, управляемой землей (государством), существовали квазивоенные организации (например, Фрайкоры, «Стальной шлем»), которые выполняли полицейские обязанности. Веймарская республика положила начало и так называемой полиции охраны (Schutzpolizei, SchuPo), подразделению, основным назначением которого была охрана правопорядка, патрулирование, приём заявлений, контроль на дорогах, розыск и т. п.
Существование такой «разношёрстности» полицейских сил в одном государстве не могло долго продолжаться. Нужна была централизация. Приход к власти Гитлера ускорил её. 16 июня 1936 года под руководством Генриха Гиммлера была создана Национальная полиция. Государственные силовые структуры Земель потеряли свою автономию.
После Первой мировой войны оружия на территории Германии осталось в избытке, в том числе и хорошо зарекомендовавший себя в войне пистолет Парабеллум. Поэтому он и был принят на вооружении полиции.
Реальная опасность случайного выстрела при разборке P.08 с патроном в патроннике была признана в начале его службы в прусской полиции в 1920-х годах. Капитан полиции Густв Шмидт (Gustav Schmidt) в «Технической инструкции по оружию для полицейского» (Waffentechnisches Unterrichtsbuch fur den Polizeibeamten), впервые опубликованной в 1923 году, иллюстрировал это своим импровизированным устройством имитации непреднамеренного выстрела.

Рис. 8. Устройство для демонстрации возможности случайного выстрела при разборке P.08 с патроном в патроннике. После нажатия на шептало в точке S происходит выстрел. (Joachim Görtz «Die Pistole 08»)
Для этого верхняя часть пистолета в сборе со стволом и затворной группой фиксировалась на доске гвоздями (N1–N2). Сзади эта конструкция опиралась на деревянный брусок. С целью симуляции патронник заряжался холостым патроном, затем шептало безопасно спускалось с боевого взвода в точке S, имитируя случайный выстрел, чтобы заострить внимание учеников на возможности возникновения такой опасной ситуации при неполной разборке пистолета. Используемый холостой патрон был предположительно обжат «звёздочкой», поскольку патрон с деревянной пулей (которые стояли на вооружении полиции в 1920-х годах) был почти так же опасен на демонстрации в классе, как и боеприпасы с обычной пулей.

Рис. 9. Холостые патроны. Слева направо: 2 шт. с деревянной пулей голубого цвета и клеймом 11 26 и 1 27 на донце гильзы для полиции Баварии, 2 шт. экспериментальные с бумажной пулей красного цвета, и один обжатый «звёздочкой» для М.Р.38/40. Ниже – картонная коробка для холостых патронов характерного оранжево-красного цвета, обозначающего тип боеприпасов (фотоколлаж автора)
Происшествия, когда пострадал сам неосторожный стрелок или кто-то посторонний, были чистой случайностью и время от времени имели место. Но после принятия на вооружение Парабеллума такие инциденты в прусской полицейской службе, очевидно, стали происходить с достаточной регулярностью.
Частично причина, как было отмечено руководством, заключалась и в недостаточной подготовке личного состава, и в чрезмерной экономии при проведении практических боевых стрельб – ежегодно на одного полицейского выделялось всего 60 патронов.
Поэтому рост числа несчастных случаев при обращении с оружием возобновил интерес к системам предохранения от случайных выстрелов. А сложившаяся ситуация потребовала от полицейских властей в кратчайшие сроки предпринять радикальные меры по предотвращению подобных ЧП.
Двойная страховка
Для того чтобы исключить возникновение подобных эксцессов с Р.08, полиция Пруссии запланировала в конце 1920-х годов оснастить оружие двумя дополнительными предохранителями. Этим предполагалось достичь двух целей:
• Невозможность произвести выстрел при вынутом магазине («магазинный предохранитель»).
• Невозможнось произвести выстрел при частично разобранном пистолете простым нажатием пальца на шептало («предохранитель шептала»).
К сожалению, сейчас сложно установить, когда точно были сформулированы и опубликованы соответствующие требования Министерства внутренних дел Пруссии.
Тем не менее из базы данных Немецкого патентного ведомства становится ясно, что в период с 1929 по 1932 годы многие известные немецкие специалисты по огнестрельному оружию и оружейные компании с энтузиазмом занимались разработкой магазинных предохранителей и предохранителей шептала для пистолетов в целом и для P.08 в частности.
Около дюжины зарегистрированных промышленных образцов и патентов были внесены в реестры Патентного ведомства в период с 1929 по 1932 год. Список фирм по производству огнестрельного оружия, вовлечённых в эту программу, был довольно обширен и включал в себя такие хорошо известные компании, как Carl Walther в Целла-Мелис, ERMA в Эрфурте, Simson & Co и Sauer & Sohn в Зуле.
В итоге в соответствии с циркулярным указом Министерства внутренних дел Пруссии от 30 августа 1933 года к обязательному использованию были приняты два дополнительных предохранителя для Р.08 полиции.
Это были:
• Магазинный или предохранитель спускового механизма, защищённый как немецкий зарегистрированный образец DRGM 1 237 949 от 01 октября 1932 года, выданный Waffenfabrik Carl Walther из Целла-Мелис. В самом постановлении министерства не упоминаются ни номер, ни название документа, но в происхождении конструкции нельзя ошибиться, если сравнивать предохранители магазинов в уцелевших полицейских пистолетах с чертежом, приведённым в DRGM.
• Предохранитель шептала, запатентованный берлинским изобретателем по имени Людвиг Шиви (Ludwig Schiwy) – DRP 501 267 от 19 июля 1929 года. И снова: ни имя автора, ни номер его патента не упоминаются в указе от 30 августа 1933 года. Но и чертеж в патенте, и письмо Шиви со своим предложением Министерству внутренних дел Баварии позволяют идентифицировать происхождение конструкции.

Рис. 10. Письмо Людвига Шиви Министерству внутренних дел Баварии с предложением по оснащению пистолетов Р.08 дополнительным предохранителем шептала собственной разработки (Joachim Görtz «Die Pistole 08»)
Тут необходимо дать небольшое пояснение касательно патентного права Германии того времени и обозначений аббревиатуры соответствующих документов.
D.R.P. (Deutsche Reich Patent) – рейх патент Германии.
D.R.G.M. (Deutsches Reichs-Gebrauchs-Muster) – образец, установленный в Германском рейхе, или зарегистрированный образец Германского рейха.
В чём смысл и в чём разница этих обозначений?
С 1877 по май 1945 года государственная система регистрации и патентования Германии выдавала заявителям Патент Германской империи – D.R.P. И соответствующая маркировка ставилась на изделиях, защищённых таким патентом. Надо сказать, немецкие патенты были чрезмерно дорогими. И многие производители просто не могли позволить себе платить сборы за регистрацию полного патента (сборы за немецкие патенты были в 36 раз больше, чем американские патентные сборы). Те, кто мог позволить себе патент в Германии, ставили на своей продукции штамп D.R.P. или DRP. Такой патент предоставлял патентообладателю полную 15-летнюю защиту авторских прав.
D.R.G.M. не являлся немецким патентом в полном смысле этого слова. Если производитель не хотел платить взимаемые государством очень высокие патентные пошлины, он мог вместо патента получить документ на охрану своего авторского права на предполагаемый способ использования или конструкцию своего изделия. Иными словами, зарегистрировать образец во всех землях Германии, его дизайн или функцию. С 1891 года такие изделия, произведенные в Германии, могли иметь соответствующий штамп – D.R.G.M. Первоначально это авторское право распространялось на 3 года с возможностью продления еще на 3 года. Это давало правообладателю защиту максимум на 6 лет.
Образно говоря, D.R.G.M. – это копирайт в Германии начала XX века.
Ничего удивительного в том, что такая известная компания, как «Карл Вальтер», выиграла правительственный тендер. Она просто должна была это сделать.
А вот Людвиг Шиви, наоборот, был практически никому не известным по сравнению с ней конкурентом. Бывший офицер, находящийся в резерве; автолюбитель, спортсмен-стрелок; владелец небольшой фабрики по производству ружей и аксессуаров к ним (Gewehr-Fabrik Vandrey в Берлине, расположенной по адресу SW68, Lidenstrasse 90). В 1924 году он получил патент на ложу винтовки со специальным цевьём (DRP 419 182).

Рис. 11. Карабин Парабеллум со сделанным по персональному заказу прикладом в кожаном чемоданчике производства Gewehr-Fabrik Vandrey. Внутри крышки на красной кожаной этикетке выполнено тиснение золотом: «L. Schiwy Gewehrfabrik Berlin SW68, Lidenstrasse 90» (Joachim Görtz, Dr. Geoffrey Sturgess «The Borchardt & Luger Automatic Pistols»)
В тендере на дополнительные предохранители для полиции он предложил два изобретения: предохранитель шептала, как указано выше, и магазинный предохранитель (DRP 587 871 от 10 февраля 1932 года). Последний проиграл предохранителю Вальтера.
Первый же был принят по неизвестным причинам. Возможно, потому что он был лучше/проще/дешевле всех предложенных решений. Возможно, у Шиви были связи и знакомые, кто знал нужных людей. Или, может быть, он был просто первым, кто предложил нужное решение, получив патент на шесть месяцев раньше, чем кто-либо из конкурентов.
История об этом умалчивает.
Как бы там ни было, но полиция приняла на вооружение именно его разработку.

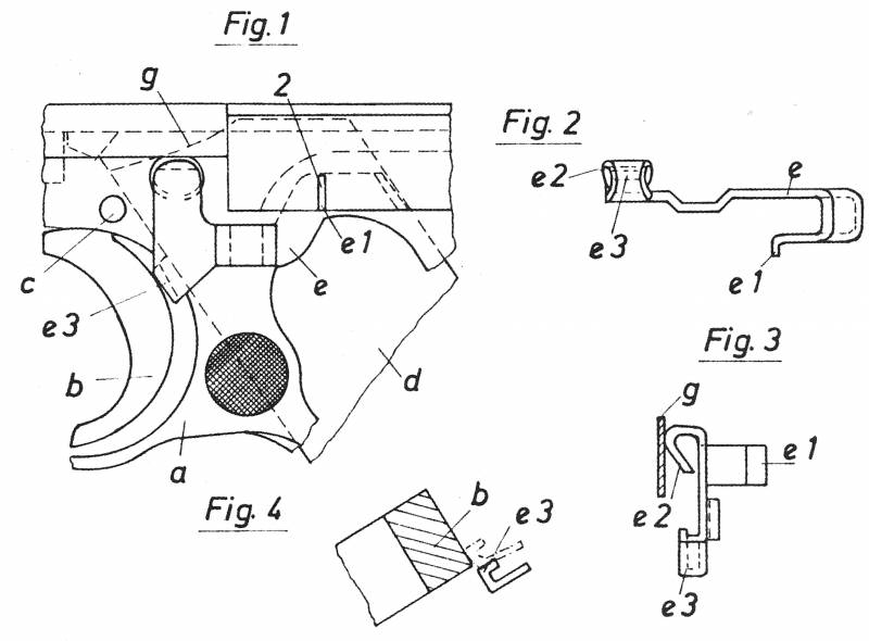
Рис. 12-1. Патент DRP 501 267 от 19 июля 1929 года, выданный Людвигу Шиви на «Автоматический предохранитель шептала стрелкового оружия» (Selbsttätige Sicherung für die Abzugsstange von Handfeuerwaffen) (Joachim Görtz «Die Pistole 08»)

Рис. 12-2. Рисунок из патента DRP 501 267 от 19 июля 1929 года, выданного Людвигу Шиви на «Автоматический предохранитель шептала стрелкового оружия» (Selbsttätige Sicherung für die Abzugsstange von Handfeuerwaffen) (Joachim Görtz «Die Pistole 08»)
Надо отметить, что производственная версия предохранителя слегка отличалась от заявленной.
В патенте показано, что предохранитель представляет собой рычаг, поворачиваемый вокруг горизонтального штифта E1 пластинчатой пружиной e4 с утонченным концом, а стопорный штифт e2 должен иметь прямоугольное сечение. Но при производстве сделали упрощение – задний конец рычага просто приклепали вертикально к кожуху шептала, при этом сам он представлял собой гибкую пластинчатую пружину постоянного сечения, а стопорный штифт – цилиндрическую заклепку.
С 1933 года предохранитель стали устанавливать на всех существующих Р.08 полиции в Пруссии, а с 1937 года – и в остальных землях Германии.

Рис. 13. Ствольная коробка «полицейского» Р.08 с установленным предохранителем Шиви (вверху) и обычного (внизу) Парабеллума (фото автора)

Рис. 14. Ствольная коробка «полицейского» Р.08 с предохранителем Шиви – виден фиксирующий штифт и отверстие в ограждении шептала (фото автора)

Рис. 15. Ствольная коробка «полицейского» Р.08. Предохранитель Шиви в рабочем положении – виден выступающий снизу ограждения шептала фиксирующий штифт (фото автора)

Рис. 16. Шептало «полицейского» (вверху) и обычного (внизу) Р.08. Стрелкой указано отверстие под фиксирующий штифт предохранителя Шиви (фото автора)

Рис. 17. Боковая крышка «полицейского» (слева) и обычного (справа) Р.08. Красным выделен вырез под предохранитель Шиви (фото автора)

Рис. 18. Два Р.08 производства 1916 г. DWM (верхний) и Эрфуртского арсенала (нижний). В 1920 году приняты на вооружении полиции (вторая дата) и позже оснащены предохранителем Шиви. Под ними – кобура полицейского типа (фото автора)
Вне всякого сомнения, предохранитель шептала Шиви, каким бы простым он ни был, действительно соответствовал своему назначению. Он на самом деле предотвращал выстрел из снятой с рамки ствольной коробки со стволом и затворной группой.
Устройство представляло собой пластинчатую пружину, приклепанную слева сверху ствольной коробки над кожухом шептала, несущую штифт диаметром 1,4 мм, который автоматически входил в отверстие в переднем рычаге шептала, блокируя его смещение при снятой боковой крышке. Как следствие, ударник, если он был взведён, не мог быть спущен с боевого взвода намеренно или случайно.
При установке боковой крышки стопорный штифт приподнимался и освобождал шептало, обеспечивая штатную работу ударно-спукового механизма. Для монтажа предохранителя в верхней части боковой крышки делался вырез, а в шептале сверху в передней части сверлилось небольшое отверстие для стопорного штифта. Ещё одно такое же отверстие сверлилось в тыльной части ограждения шептала для заклепки, фиксирующей пластину.
Присутствует ли предохранитель Шиви на пистолете или нет, ствольная коробка с такими модификациями идентифицирует любой Р.08 как экс-полицейский.

Рис. 19. Экс-полицейский Р.08 производства DWM. Предохранитель Шиви удалён, в шептале видно отверстие для его фиксации (стрелка слева) и отверстие для установки предохранителя в кожухе шептала (стрелка справа) (фото автора)
Магазинный предохранитель Вальтера представлял собой U-образную деталь, гнутую из штампованной листовой пружинной стали, c тремя кулачками с последующей финишной закалкой. Он устанавливался слева под панелью рамки и щёчкой, непосредственно перед спусковой скобой, и удерживался загнутым выступом № 3 в прорези, фрезерованной в нижней части боковины рамки.
Эта прорезь однозначно идентифицирует такой пистолет как экс-полицейский Р.08 вне зависимости от того, присутствует ли предохранитель или изъят, как и в случае с предохранителем Шиви.
В передней части U-образной пружины находились два выступа-кулачка, загнутых под прямым углом к оси пистолета. Кулачок № 1 взаимодействовал с магазином через отверстие, просверленное над спусковым крючком. Вставленным в рукоятку магазином он выталкивался наружу, при этом кулачок № 2 позади спускового крючка смещался влево, снимая со спуска блокировку. При вынутом магазине кулачок усилием U-образной пружины возвращался в исходное положение за спусковым крючком, блокируя его.
Выступ № 3 служил для установки предохранителя в вертикальной прорези, фрезерованной в нижней части рамки пистолета.

Рис. 20. Магазинный предохранитель конструкции Фридриха Вальтера для Р.08 (фотоколлаж автора)

Рис. 21. Иллюстрация к заявке на зарегистрированный образец Германского рейха DRGM 1 237 949 от 01 октября 1932 года, выданный компании «Карл Вальтер», под названием «Магазинный предохранитель для многозарядного оружия». Для серийного производства он был слегка упрощён – это видно на изометрической проекции (Joachim Görtz «Die Pistole 08»)

Рис. 22. Два редчайших экземпляра полицейских Р.08 с нетронутыми предохранителями Вальтера. Магазин извлечён, предохранитель кулачком заходит за спусковой крючок сзади и блокирует его. На снимке справа: в левой щёчке вверху вырезано окно под предохранитель (фотоколлаж автора)

Рис. 23. Раритетный Р.08 с нетронутым предохранителем Вальтера (morphyauctions.com)
Оба предохранителя были одобрены к применению циркулярным указом Министерства внутренних дел Пруссии от 30 августа 1933 года, о чём стало известно 6 сентября 1933 года. Целью такого решения было объявлено «предотвращение несчастных случаев».
Стоит заметить, что указ и сами предохранители предназначены были только для подразделений полиции Пруссии и никогда для воинских частей или коммерческой продажи. Их установка была проведена на местных или региональных оружейных складах, а не силами и/или персоналом фирм производителей оружия.
Для обеспечения правильной установки предохранителя шептала и магазинного предохранителя для каждого полицейского склада в качестве эталонного образца был подготовлен один пистолет с установленными предохранителями, комплект чертежей, необходимые для работы свёрла, два калибра и копия инструкции по внесению изменений.

Рис. 24. Информационный бюллетень МВД Пруссии от 6 сентября 1933 года, в котором был опубликован Указ Министерства внутренних дел Пруссии № 66/33V от 30 августа 1933 года (Joachim Görtz «Die Pistole 08»)
Судя по указам и иным руководящим документам, опубликованным в сохранившихся в архивах информационных бюллетенях, установка дополнительных предохранителей была инициирована зимой 1933–1934 года и распространялась на пистолеты, числящиеся в штате полиции Пруссии.
Не существует каких-либо записей относительно того, какой период времени заняло такое дооснащение оружия.
Также нет никаких документальных свидетельств того, производились ли или нет фирмой Маузер новые Р.08 с изначально установленными на заводе предохранителями шептала и магазинным, так как количество пистолетов, заказанных у фирмы Маузер для полиции, было крайне незначительным по сравнению с военными заказами. Более того, кажется маловероятным, что Министерство внутренних дел согласилось бы на дополнительную оплату фирме Маузер за выпуск пистолета особой модификации, в то время как требуемые инструменты, калибры и инструкции были под рукой на оружейных складах полиции.
Жизнь магазинного предохранителя, защищённого свидетельством DRGM 1 237 949, была довольно короткой.
Разработка Вальтера была установлена только на тех Р.08 прусской полиции, что были выпущены в 1933–1934 годах. Более того, довольно жёсткий контакт кулачка предохранителя с магазином вызывал повреждение последнего. В первую очередь истиралось защитное покрытие магазина и иногда деформировался передний левый край его корпуса.
По указу «рейхслидера СС и шефа полиции Германии» от 27 мая 1937 года предохранители спускового крючка и любые подобные устройства были отменены. Это, очевидно, относилось и к предохранителю Вальтера.

Рис. 25. Указ рейхсфюрера СС и шефа полиции Германии от 27 мая 1937 года (Joachim Görtz «Die Pistole 08»)
Берлин, 27 мая 1937 г.
Рейхсфюрер СС
и Шеф полиции Германии
Министерства внутренних дел Рейха
O. - Kdo. T (3) 306 Nr. 8/37
Тема: Предохранитель шептала и Руководство по эксплуатации для пистолета Р.08
Ссылка: Циркулярный указ от 15 декабря 1936 года O. - Kdo. T (3) 71 Nr. 19 III /36
Во избежание несчастных случаев и для того, чтобы гарантировать единообразие обучения, предохранитель шептала – производства Vandrey – пистолета Р.08, который был уже представлен в Пруссии и некоторых других землях, на данный момент принять всем подразделениям Полиции охраны, Жандармерии и Общественной полиции.
О существующем в землях спросе на предохранители шептала сообщить в Техническую Академию Полиции, Берлин, крайний срок 1 июля 1937 г. (отдельно для Общественной полиции). Требуемое количество будет приобретено и распределено.
К этому же сроку все земли, кроме Пруссии, должны прислать в Техническую Академию Полиции по одному пистолету Р.08. На эти пистолеты будут установлены предохранители шептала и они, затем, будут возвращены в департаменты, чтобы служить в качестве образцов. При этом 1 калибр для сверления и 1 инструкция по установке предохранителя будут отправлены в каждую мастерскую по ремонту оружия.
Все предохранители шептала других существующих конструкций на пистолетах Р.08 Полиции охраны, Жандармерии и Общественной полиции во всех землях, за исключением Пруссии, и все предохранители спускового крючка любой конструкции должны быть выведены из строя.
(Статья указа касается принятия армейского руководства P08 H. Dv. 255 для полиции и изменения этой инструкции в соответствии с требованиями безопасности для шептала и чистки оборудования 34 см. Гл. 5).
Как следствие, сейчас очень трудно найти целый нетронутый предохранитель Вальтера.
Большинство из них были изменены путем стачивания выступов переднего кулачка, чтобы сделать его неработоспособным и оставить его исключительно для заполнения паза в боковой стенке рамки, но в некоторых случаях они просто были полностью удалены.

Рис. 26. Предохранитель Вальтера, деактивированный в соответствии с указом от 27 мая 1937 года. Кулачки, взаимодействовавшие с магазином и спусковым крючком, срезаны (фотоколлаж автора)
В соответствии с тем же указом все предохранители шептала, кроме тех, которые были произведены фирмой Vandrey (то есть конструкции Шиви), должны были быть выведены из строя. Включая предохранитель шептала, изобретённый старшим оружейником муниципальной полиции Гамбурга Эмилем Шмидтом (Emil Schmidt) и защищённый свидетельством DRGM 1 228 449 от 25 июля 1932 года, который он предлагал департаментам полиции Гамбурга, Бремена и Баварии. Основой его изобретения был удлиненный плунжер шептала, который при снятой боковой крышке входил в паз в передней части ствольной коробки, блокируя шептало. При стоимости устройства от 0,15 до 0,20 марки, на его установку требовалось всего две-три минуты.
Указ от 27 мая 1937 года также предписывал принять на вооружение предохранитель шептала (конструкции Шиви/производства Vandrey) всеми не прусскими германскими землями, которые ранее воздерживались от использования этого устройства. Это касалось и Баварии, где руководство полиции уже тестировало предохранитель Шиви в 1932 году, но отказалась внедрять его, мотивируя это главным образом тем, что на пистолете могли появиться царапины при повторной сборке модифицированной боковой крышки.
Предохранитель Шиви можно обнаружить на полицейских Р.08, произведённых вплоть до 1942 года. Последняя производственная партия с префиксом «y» в номере, была, очевидно, подготовлена для его установки (что может указывать на заводскую модификацию пистолетов), но при этом сама пружинная пластина отсутствовала с левой стороны ствольной коробки. Было ли это следствием указа более не устанавливать такие устройства или, может быть, фирма Вандрей в Берлине, занимавшаяся изготовлением предохранителей Шиви и комплектующих к нему, стала жертвой бомбардировок Союзников, это неизвестно.
Практически не сохранилось ни одного экземпляра P.08 с установленными дополнительными предохранителями, поскольку в начале 1930-х годов у такого пистолета не было коммерческого рынка за пределами Пруссии. А стоящие на службе в полиции пистолеты в соответствии с указом Гиммлера от 27 мая 1937 года во всех землях Германии были приведены к единому состоянию, лишившись таких устройств.
И лишь небольшое их количество каким-то чудом сохранилось нетронутыми, став невероятно редкими экземплярами Парабеллумов, которые могут украсить собой любую коллекцию.

Рис. 27. Два раритета: Р.08 производства DWM (верхний) и Эрфуртского арсенала (нижний) с сохранившимися дополнительными предохранителями Шиви (фото автора)
Ещё один интересный факт, о котором стоит упомянуть.
Для ношения Парабеллума на поясном ремне полиция приняла и свой собственный тип кобуры, отличавшийся от армейского способом закрывания «на замок». Чем это было вызвано – история умалчивает. Но по моим личным субъективным ощущениям, расстегнуть полицейскую кобуру, чтобы извлечь из неё оружие, гораздо легче, чем армейскую.

Рис. 28. Кожаные кобуры для Р.08: в центре – для полиции, справа и слева – для армии и флота (фото автора)
Не так много информации и подробностей о других дополнительных предохранительных устройствах для Р.08 сохранилось ещё и потому, что хотя они были защищены свидетельствами DRGM, но в 1950-х годах было проведено массовое уничтожение довоенных записей регистров Патентного ведомства Германии. И потому о них стоит поговорить отдельно…
Продолжение следует…
Автор:Куделин Юрий
Взято: Тут
667