Samsung запатентовала уникальный смартфон с гибким выдвигающимся экраном ( 3 фото )
Корейская Samsung уже выпустила складной Galaxy Fold, который вполне можно назвать одним из самых инновационных смартфонов года. Тем не менее, компания не останавливается на достигнутом и, судя по недавно полученному ей патенту, может выпустить еще более уникальный смартфон с гибким выдвигающимся экраном.

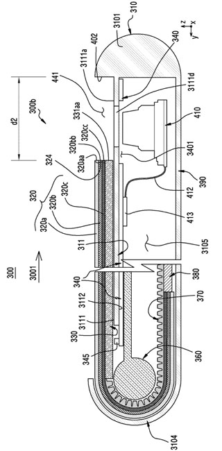
Гаджет использует гибкий дисплей, который крепится к сложному реечному механизму, позволяющему ему скользить вниз и вверх. Благодаря этому гаджет может скрывать или наоборот открывать верхнюю рамку с фронтальной камерой и разговорный динамик.

Подобная концепция не нова. И аналогичное решение было применено еще во флагманском смартфоне Xiaomi Mi Mix 3. Но в отличие от сегодняшней разработки Samsung, этот гаджет использует более простую систему, при которой в движение приходит вся панель смартфона, а расположенный на ней дисплей, по сути, остается неподвижен.

Судя по иллюстрациям, каждый раз, когда пользователь получает голосовой или видеозвонок, он может сдвинуть дисплей вниз, открыв доступ к фронтальной камере и динамику. А движение дисплея вверх приведет к завершению вызова.
Конечно, пока это всего лишь патент. И мы не знаем, собирается ли Samsung выпустить этот гаджет на практике. Тем более, что корейцам пока хватает проблем и с более простым в реализации Galaxy Fold, который до сих пор не может похвастаться своей надежностью.

Гаджет использует гибкий дисплей, который крепится к сложному реечному механизму, позволяющему ему скользить вниз и вверх. Благодаря этому гаджет может скрывать или наоборот открывать верхнюю рамку с фронтальной камерой и разговорный динамик.

Подобная концепция не нова. И аналогичное решение было применено еще во флагманском смартфоне Xiaomi Mi Mix 3. Но в отличие от сегодняшней разработки Samsung, этот гаджет использует более простую систему, при которой в движение приходит вся панель смартфона, а расположенный на ней дисплей, по сути, остается неподвижен.

Судя по иллюстрациям, каждый раз, когда пользователь получает голосовой или видеозвонок, он может сдвинуть дисплей вниз, открыв доступ к фронтальной камере и динамику. А движение дисплея вверх приведет к завершению вызова.
Конечно, пока это всего лишь патент. И мы не знаем, собирается ли Samsung выпустить этот гаджет на практике. Тем более, что корейцам пока хватает проблем и с более простым в реализации Galaxy Fold, который до сих пор не может похвастаться своей надежностью.









