sergey11111
Космические технологии. Левитация в ВМС США ( 14 фото )
Министр военно-морского флота США указан в качестве правообладателя нескольких радикальных авиационных технологий, запатентованных аэрокосмическим инженером, работающим в штаб-квартире авиационного дивизиона ВМС США (NAWCAD) в Патаксент-Ривер, штат Мэриленд.
В одном из этих патентов описан «гибридный аэрокосмический подводный корабль», который, как утверждается, способен демонстрировать поистине невероятные скорости и маневренность в воздухе, на воде и в открытом космосе благодаря революционной электромагнитной двигательной установке.
Преамбула
Но вначале небольшая преамбула, адресующая к моим предыдущим статьям.
В последнее время неопознанные летающие объекты заходили в воздушное пространство США, предназначенное для военных целей, несколько раз в месяц, заявил недавно Джозеф Градишер, представитель канцелярии заместителя начальника военно-морских операций по информационной войне.
Он сказал: «Мы хотим докопаться до сути. Нам нужно определить, кто это делает, откуда он и каковы их намерения. Мы должны попытаться найти способы, чтобы это не повторилось».
С середины июня 2019 года о необъяснимых наблюдениях НЛО/UAP пилотами ВМС представители ВМФ регулярно информировали членов Сената, имеющих соответствующие допуски. Они делали это и раньше, но сейчас эта информация перешла в публичную сферу.
Отчеты об этих событиях – это достоверные доказательства свойств летательных аппаратов, которые демонстрируют характеристики, отличные от всего, что мы знаем, понимаем или можем дублировать:
• зависание без движителя и выпускного шлейфа;
• чрезвычайная маневренность и потрясающие изменения в ускорении;
• достижение гиперзвуковых скоростей, обычно относящихся к скоростям свыше 5 Махов (в пять раз быстрее, чем скорость звука), без признаков звукового удара.
Это подтверждено и в последнем отчете национальной разведки США от 25 июня.
Так как невозможно воспроизвести эти летные характеристики с существующей технологией, сделан вывод о том, что это свидетельствует о технологиях следующего поколения и независимо от их принадлежности – это требует дальнейших исследований.
Главное открытие заключается в том, что существует технология, которая способна выполнять маневры в полете, которые разрушают наше восприятие движителя, управления полетом, материаловедения и даже физики.
Еще в прошлом году Трампу доложили о внеземных технологиях, источниках и методах их получения и освоения. Этому предшествовал доклад о «внеземных технологиях» и работам по «изменению метрики пространства» в Китае.
Президент США воспринял адекватно и дал санкцию на активизацию работы, следствием этого и явилась статья в законе, предусматривающая предоставление Отчета по НЛО, который мы уже рассматривали ранее в цикле «Раскрытие НЛО».
Сами эти события не являются сейчас предметом нашего обсуждения.
Радикальные американские космические технологии
Сегодня поговорим именно о наиболее радикальных американских космических технологиях, реализуемых именно сейчас.
Как бы ни относилась к этому сетевая и офлайновая российская общественность, но профессионалам обманываться нельзя. Это чревато тяжёлыми последствиями.
Эти взаимосвязанные разработки способны изменить наш привычный мир, а при желании создателей и весь геостратегический расклад.
И Китай, и США уже близки к реализации этих технических решений. И там, и там этим занимаются военно-морские лаборатории! (Адреса, явки, фамилии известны).
Речь идет не о планах и фантазиях, а о запатентованных (в том числе в России) технологиях, системах и устройствах.
Есть два пути в науке и технике: экстенсивный и прорывной. Экстенсивный – базируется на существующих научных представлениях. Мы обсуждаем пример прорывного.
То, что мы обсуждаем, это системы и реальные устройства, в том числе квази антигравитационные, с использованием «альтернативной теплой сверхпроводимости». Но не только её.
Прорывной подход основан на новых открытиях или на комплексном осмыслении всего уже известного и конвергенции этих знаний. Это то, что изменяет мир (как когда-то изобретение и создание Теслой генератора переменного тока – вся наша электрическая эпоха существует благодаря этому).
Изменяя метрику пространства-времени
Для затравки об одном таком изобретении.
Революционные «усовершенствованные электромагнитные машины (электромагнитные гибридные аэрокосмические – подводные аппараты, в том числе с экипажем!), использование которых «резко сократит текущие пределы перемещения по расстоянию и времени» и «имитирует возможности, наблюдаемые в НЛО, используя систему привода, которая изменяет метрику пространства-времени».
Объясняю.
Речь идет об аппаратах, которые могут двигаться практически с неограниченной скоростью в любой среде!
Естественно, много и иных приложений и применений, включая космические.
Это базируется на новых фундаментальных представлениях о природе материи и пространства-времени.
Автор патента на «Гибридный аэрокосмический подводный корабль» (у него еще несколько связанных патентов) – Сальваторе Цезарь Паис, ведущий специалист в Patuxent River в Мэриленде – главной испытательной базе военно-морского флота США. Несколько лет его персонально поддерживало НАСА, субсидировало его докторскую и первичные исследования (диссертация и отчеты имеются).
Сальваторе Паис на момент подачи заявки уже работал аэрокосмическим инженером в NAWCAD на военно-морской авиабазе Патаксент-Ривер в Мэриленде – главной испытательной базе ВМФ.

Биография Паиса приведена в его последней публикации в IEEE Transactions on Plasma Science
В публикации IEEE говорится, что доктор Паис больше не работает в NAVAIR/NAWCAD, но теперь трудится в программе стратегических систем ВМС США (SSP). В 2021 году он опять сменил работу.
Гибридный аэрокосмический подводный корабль

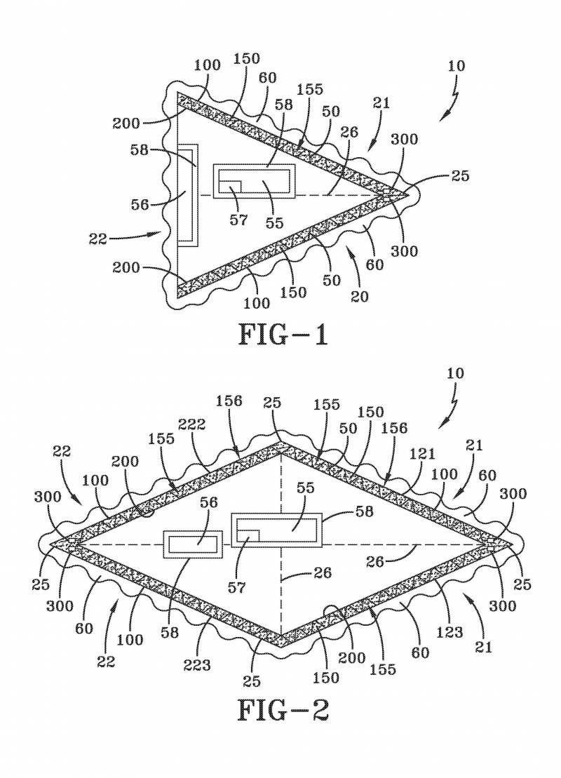
Изображение гибридного аэрокосмического подводного аппарата, прилагаемого к заявке на патент
Гибридный аэрокосмический подводный аппарат, описанный в патенте Паиса, представляется как способный к невероятным достижениям в скорости и маневренности, и он может одинаково хорошо летать в воздухе, воде или пространстве, не оставляя тепловых признаков.
Это возможно, заявляет Паис в патенте, потому что судно способно «спроектировать ткань нашей реальности на самом фундаментальном уровне», используя законы физики.
Концепция довольно проста, хотя инженерия, необходимая для ее воплощения – совсем нет.
Вся материя содержит энергию на квантовом уровне.
Теоретически производя свое невероятно плотное и поляризованное энергетическое поле, гибридное судно, как утверждается, способно создать вокруг себя квантовый «вакуум», который позволяет ему отталкивать любые молекулы воздуха или воды, с которыми он взаимодействует.
Таким образом, аппарат может, по существу, игнорировать аэродинамические или гидродинамические силы, по крайней мере, так заявлено в патенте.
В заявке на патент ВМС утверждается, что радикальные способности тяги и маневренности стали возможными благодаря невероятно мощному электромагнитному полю, которое по существу создает вокруг себя квантовый вакуум, который позволяет ему игнорировать аэродинамические или гидродинамические силы и устранять свою собственную инерционную массу из уравнения.
Таким образом, способность генерировать такие высокочастотные электромагнитные волны является ключом к предполагаемым способностям этого теоретического гибридного аппарата, который может без усилий парить в воздухе и воде на невероятных скоростях практически без сопротивления или инерции.
В своих патентах и публикациях (в рецензируемых научных журналах), описывающих гибридное аэрокосмическое подводное судно (HAUC), Паис пишет:
«...радикальные достижения в скорости и маневренности, на которые судно предположительно, могут быть достигнуты путем соединения «высокочастотного осевого вращения» или «ускоренной вибрации» с «высокочастотными колебаниями электрически заряженных систем».
В одной из последних публикаций Паис описывает гибридное аэрокосмическое подводное судно, как транспортное средство с приблизительно конусообразной формой, которое будет выглядеть круглым спереди или сзади: «HAUC имеет коническую конфигурацию, с эллиптическим поперечным сечением, похожим по геометрии на гиперзвуковую глиссирующую машину/дротик».
Можно представить гибридное аэрокосмическое подводное судно (HAUC), которое может функционировать как подводный аппарат, способный к экстремальным подводным скоростям (отсутствие трения вода-поверхность аппарата) и расширенным возможностям воздушной/подводной невидимости. Этот гибридный аппарат мог бы с большой легкостью перемещаться через воздушную/космическую/водную среду, будучи заключенным в вакуум/плазменный пузырь/оболочку, из-за связанных эффектов электромагнитного поля, вызванного отталкиванием частиц воздуха/воды и поляризацией вакуума.

Изображения летательного аппарата в патентной заявке включают описания различных компонентов, которыми может обладать такой аппарат, например: микроволновые излучатели (300); резонансная полость, заполненная благородным газом, например ксеноном (150); боевое отделение (55); клетка типа Фарадея для защиты экипажа от электромагнитных полей (58); грузовой отсек (57); система силовой установки (56); и усеченный конус, или носовой конус, который «может вращаться вокруг своей оси (25)».
Достаточно интересно, что описания корабля в нескольких публикациях Паиса и даже патент на «судно с использованием устройства уменьшения инерционной массы» включают в себя место для отсека экипажа, защищенного клеткой Фарадея.
Другие изобретения Сальваторе Паиса
Паис назван изобретателем по пяти отдельным патентам, правообладателем которых является ВМФ США:
• высокочастотный генератор высокочастотной гравитационной волны;
• сверхпроводник комнатной температуры;
• генератор электромагнитного «силового поля» (способный отклонять астероиды);
• аппарат с использованием устройства для уменьшения инерционной массы.

Изображения из двух отдельных патентов: «Аппарат с использованием устройства для уменьшения инерционной массы» (слева) и «Генератор высокочастотных гравитационных волн»
Малогабаритный термоядерный реактор
Этот последний патент был получен в 2020 году. Название: «Устройство для плазменной компрессии». Можно даже не смотреть на название.
Фактически это заявка на способ и устройство (установку) для управляемого термоядерного синтеза.
Или проще, хотя и не правильно, для медленного управляемого взрыва водородной бомбы в мирных целях.
Еще проще.
Одна предлагаемая установка (судя по патенту, лабораторная установка или прототип имеется), которая в 1000 раз дешевле, чем деньги, затраченные на Токомаки, не говоря уже об ITER, и размерами в 1000 раз меньше последней, способна с избытком обеспечить все энергетические потребности, например, любого американского штата.
Паис по этому проекту пишет одному своему научному оппоненту:
Тот факт, что моя работа по разработке компактного термоядерного реактора была принята к публикации в таком престижном журнале, как IEEE TPS, должен красноречиво говорить о ее важности и достоверности – и должен устранить (или, по крайней мере, смягчить) все заблуждения, которые вы (или любой другой человек) можете иметь, ввиду правдивости (или возможности) моих передовых физических концепций.
«Теплая сверхпроводимость» или сверхпроводник с рабочей комнатной температурой
Сверхпроводники – это материалы, которые могут проводить электричество с нулевым сопротивлением, то есть электрические токи, проходящие через них, никогда не разрушаются и не рассеиваются, как в металлах, таких как медь или серебро.
Сверхпроводники также создают свои собственные отталкивающие магнитные поля, когда их размещают рядом с магнитами, что позволяет применять такие приложения, как парящие поезда-маглевы, в настоящее время плавающие на высокой скорости в Японии и Китае.
В течение многих лет ученые стремились создать сверхпроводники комнатной температуры, электрические цепи с нулевым сопротивлением, которые генерируют мощные электромагнитные поля.
Однако для большинства сверхпроводников требуются невероятно низкие температуры, что делает их непрактичными для большинства применений за пределами лабораторий или других тщательно контролируемых сред.
Несколько недавних экспериментов по комнатной температуре или высокотемпературной сверхпроводимости имели некоторый предварительный успех, что позволяет предположить, что эта технология, могла бы стать доступной в результате дальнейших исследований.
Большинству сверхпроводников сегодня требуются чрезвычайно низкие температуры для работы, что делает их непрактичными для большинства применений за пределами лабораторий или крупномасштабной промышленной эксплуатации.
В течение многих лет сверхпроводники при комнатной температуре были чем-то вроде «священного Грааля» науки для инженеров, потому что, однажды будучи созданными, они откроют двери для невероятно новых форм передачи и хранения энергии, электродвигателей и устройств магнитной левитации.

Рисунок из патента Паиса «Пьезоэлектрический индуцированный сверхпроводник при комнатной температуре».
Следует иметь в виду, что сверхпроводник с рабочей комнатной температурой будет иметь гораздо более радикальное применение, чем даже гибридное устройство, которое теоретически может создать вокруг себя квантовый вакуум.
Доклад Паиса «Сверхпроводящая система при комнатной температуре для использования на гибридном аэрокосмическом подводном корабле» был презентован в Американском институте аэронавтики и астронавтики в январе 2019 года в Сан-Диего.

Слайд из презентации Pais 2019 «Сверхпроводящая система при комнатной температуре для использования на гибридном аэрокосмическом подводном корабле»
Паис сообщает, что «достижение сверхпроводимости при комнатной температуре представляет собой чрезвычайно разрушительную технологию, способную полностью изменить парадигму в науке и технике», и добавляет, что ее «военная и коммерческая ценность значительна».
Реализуемость изобретений
Так как имею для этого соответствующее образование и опыт, я изучил не только патенты Паиса и компании (ВМС США), но и все ссылки, связанные с ними, и могу констатировать, что патенты с профессиональной и формальной точек зрения не только суперпрофессиональны, но и безупречны.
Их, похоже, невозможно обойти.
Ссылки, то есть теория и эксперименты, лежащие в их основе, убедительны.
Информационное окружение по каждой заявке на патент – это несколько десятков, а иногда и сотен высококлассных научных статей.
Это не институтская и даже не академическая наука. Это выдающееся проявление человеческого гения, возможно, полученное от источника нечеловеческого…
Достаточно привести только несколько цитируемых Паисом авторов.
Илья Пригожин, нобелевский лауреат, академик многих национальных академий. В том числе РАН. Это без комментариев.
В обосновании метода получения «теплой сверхпроводимости» автор, помимо Пригожина, цитирует академиков Ландау и Боголюбова.
Много ссылок еще на работы одного человека, но мне известного более чем. Харрольд Путхофф (жив до сих пор), фактический создатель и научный руководитель проекта Star Gate.
Не только его собственные научные достижения эпохальны, но и практические результаты, достигнутые его коллегами, например, по вскрытию ядерного потенциала СССР и прочие (соответствующие документы имеются, но, извините, не для печати).
Там, где Путхофф, там – космические технологии (и про Хэлла, и про эти технологии и метаматериалы еще есть, что рассказать, возможно, в следующей статье).
Краткое описание сути представляемых патентов я опишу (сохранена терминология оригиналов).
Возможно, терминология не всегда соответствует общепринятым терминам из учебников, и именно эти претензии были первыми со стороны ортодоксальных экспертов.
Но оксюморон в том, что в новой теории, открывающей природу реальности, не может быть экспертов, кроме её первооткрывателей.
Эта новая теория и порождаемая ею техника носят мультидисциплинарный характер, и претензии любой из наук на исключительность своей терминологии поэтому не состоятельны.
Одним из ключевых выводов в этой теории является то, что квантовые эффекты возможны в макрообъектах. Концептуально с этим согласно уже большинство физиков, но возможность реализации в реальных устройствах, безусловно, вызовет споры.
Более подробно – в оригиналах патентов (все доступны).
Это основательные документы, соответствующие мировым патентным требованиям, которые подтверждаются многочисленными актами исследований и заключениями ведущих мировых специалистов (как всегда, Scopus и мировой патентный фонд в помощь).
Патентная интрига
Вся история с нынешними патентами ВМС проходила в рамках финансируемых исследований, которые только начинались или продолжаются. Они будут спонсироваться усиленно и приоритетно.
Имейте в виду, что патенты принадлежат Правительству США. Это принципиальное отличие от персональных патентов.

Отказ Паиса
Также важно отметить, что если бы военно-морской флот хотел, чтобы этот патент оставался классифицированным, он мог бы подать патент в соответствии с Законом о секретности изобретений 1951 года (35 USC ch. 17), который разрешает патентам оставаться классифицированными, если они могут представляют возможную угрозу для национальной безопасности Соединенных Штатов.

Закон о секретности изобретений
Главный вопрос в этих проектах лежит (или прячется) за термином «действующий».
«Функциональность/оперативность, с другой стороны, означает, что изобретение действительно работает. Из того, что я видел, отказ от работоспособности возникает в тех случаях, когда патентный поверенный не совсем понимает науку или технологию, лежащие в основе изобретения. Во многих случаях отказ, основанный на неработоспособности, является своего рода способом сказать патентному поверенному, что адвокат (заявитель) не имеет понятия, о чем он/она говорит».
В большинстве патентных заявок заявители должны приводить доказательство реализуемости патента или изобретения или степень, в которой патент работоспособен таким образом, что любое лицо, знакомое с аналогичными технологиями или методами, сможет понять и теоретически воспроизвести его.
Несмотря на то, что патенты кажутся «странными», официальные документы показывают, что технический директор военно-морского авиационного предприятия США лично подтвердил реальность этих изобретений и их важность для национальной безопасности и конкуренции между государствами в апелляциях к Бюро товарных знаков (USPTO) США.

Письмо представителя ВМФ в патентное ведомство США
Шихи уверяет экзаменатора, что он «хорошо разбирается в генерации электромагнитных полей, высокотемпературной сверхпроводимости и физике в целом».
Также обратите внимание на последнюю строку: заявление Шихи было сделано с осознанием того, что ложные заявления в адрес ВПТЗ США наказываются штрафом или тюремным заключением.
Письмо Шихи сопровождалось заявлением поверенного военно-морского авиационного предприятия Марка Глата, в котором Глат заявляет, что «Шихи заявляет, что изобретение работоспособно и задействовано».

Письмо поверенного
В то же время узкому кругу ограниченных лиц известно, что правительство США многие десятилетия проводит исследования подобных технологий, которые очень похожи по концепции на некоторые работы Паиса. Таким образом, хотя это неясные идеи и остающиеся на грани науки, они не совсем новые.
Помимо научных описаний, подтвержденных значительной библиографией и экспериментами лаборатории ВМС США, есть указание конкретных конструктивных деталей и конкретных композитных материалов и сплавов, режимов и параметров работы генераторов. Это с формальной точки зрения уже излишне.
Но это однозначно свидетельствует о наличии рабочих прототипов всех вышеперечисленных устройств. Со всеми вытекающими экономическими и военными последствиями.
Это подтверждается (хотя и не публично) документами, которые, по-видимому, предполагают, по крайней мере, из собственных утверждений ВМФ, что два весьма своеобразных патента ВМС, сверхпроводник при комнатной температуре (RTSC) и генератор электромагнитного поля высокой энергии (HEEMFG), могут на самом деле уже быть в работе каким-то образом.
Если эти две технологии уже работают, как утверждает ВМС, может ли это означать, что гибридное судно также может уже работать или быть близким к работоспособному?
В любом случае следует более чем серьёзно относиться к разработкам ВМС США, Паиса и компании и их военно-техническим приложениям!
Примечание. Думаю, читатели не обидятся, если я не буду приводить библиографию, а также детальное описание сути изобретений, формулы и ноу-хау. Но чтобы изложить кратко, как вы понимаете, надо «понимать полно» и каждое изобретение, и их взаимосвязи, порождающие «космический синергетический эффект». Для того чтобы обсуждать, надо иметь тоже соответствующий уровень образования. Так что – без обид. На личные сообщения я всегда отвечаю. Предельно кратко и, надеюсь, доходчиво изложу физическую природу описываемых явлений и научно-техническую сторону решений после выводов (шрифт помельче). Кто не дочитает – ничего не потеряет. Это для особо упорных и любящих рассуждать в комментариях о квантовой физике и компетенции автора (смайлик).
Выводы
ВМС США в рамках, по-видимому, официально санкционированного на более высоком уровне процесса раскрытия информации, получили и обнародовали несколько патентов, представляющих принципиально новую, базирующуюся на ранее не известных физических законах, технологию создания новых видов высокоэнергетических систем. В том числе – оборонительного и наступательного оружия.
Существуют серьезные доводы полагать, что патенты доктора Паиса являются частью официально санкционированного процесса раскрытия информации ВМС США, с целью не только получить мировой приоритет (что уже сделано, благодаря их патентованию во многих странах, в том числе и в России), но и для «легального» выпуска этих технологий в промышленный и военный оборот.
Помимо научных описаний, подтвержденных значительной библиографией и экспериментами лаборатории ВМС США, в патентах есть указание конкретных конструктивных деталей и конкретных композитных материалов и сплавов, режимов и параметров работы генераторов. Это однозначно свидетельствует не только о теоретических исследованиях, но и о создании опытных работоспособных образцов.
Это подтверждается официальными письмами и заявлениями действующих полномочных представителей ВМС США.
Такая вовлеченность официальных структур в патентный процесс беспрецедентна.
Каждое из изобретений доктора Паиса становится возможным реализовать, благодаря тому, что он сам описал как «эффект Паиса» – концепцию теоретической физики, которая, как утверждается, «становится возможной благодаря «управляемому движению электрически заряженной материи (из твердого тела) в плазму, посредством ускоренного вращения и/или ускоренной вибрации в условиях быстрых (но плавных) переходных процессов ускорения-замедления-ускорения».
Этот эффект, утверждает изобретатель, может привести к невероятно мощным электромагнитным энергетическим полям, которые способны «спроектировать ткань нашей реальности на самом фундаментальном уровне», что приведет к невероятным революционным открытиям в энергетике и движущих силах, квантовых коммуникациях, производстве энергии и даже в вооружении.
Все патенты взаимосвязаны и базируются на одной базовой теории и двух технологиях, имеющих фундаментальный характер.
Особенностью указанного типа изобретений является:
• создание способа, технологии и широкого класса устройств для обеспечения непроницаемого оборонительного щита для моря и суши, в том числе и от гипероружия, а также для космических военных и гражданских объектов и средств, защищающих эти активы от таких угроз;
• создание средств поражения с повышенными техническими и тактическими характеристиками (наземных, морских и космических объектов и систем);
• конструирование машин и вооружений для выработки энергии с уровнями выходной мощности, намного превышающими пределы, достигаемые в настоящее время существующими методами.
• возможность создания летательных аппаратов для любых сред, обладающих характеристиками, наблюдавшихся и наблюдаемых НЛО (включая невидимость в оптическом диапазоне).
Из прикладных проектов высокой степени проработанности патентуются и представляются:
Высокочастотный генератор гравитационных волн.
Речь идет о создание высокочастотного генератора гравитационных волн, который может быть использован «для продвинутого движения, разрушения и/или отклонения астероида и связи через твердые объекты» (применительно к менее массивным объектам это тем более возможно.) Особенностью изобретения является использование технологий и средств получения сверхпроводимости при комнатной температуре.
Аппарат с использованием устройства уменьшения инерционной массы.
В патентах скорость не приводится, но в обсуждениях она не ограничена и в земных условиях, по ссылкам, достигает 20 Махов в воздушной среде при возможности движения в воде и в других средах.
Аппарат, обладающий всеми свойствами НЛО, включая управление метрикой пространства) – видимо, более поздняя перспектива, но теоретические и технологически предпосылки для его создания уже имеются.
Революционный потенциал прорывных электромагнитных технологий, в случае их реализации, огромен, особенно для аэрокосмической отрасли и ВМФ. Единоличное владение США подобной технологией создает потенциальные опасности для РФ и снижает эффективность ответных мер в случае такой необходимости.
Внутренние документы показывают, что ВМС и Министерство обороны США считают, что эта технология имеет «значение для национальной безопасности, поскольку ведет к созданию источника термоядерной энергии с коммерческим, а также военным потенциалом для обеспечения национального энергетического и военного доминирования».
Технический комментарий
Техническая сторона, предельно кратко и, надеюсь, доходчиво.
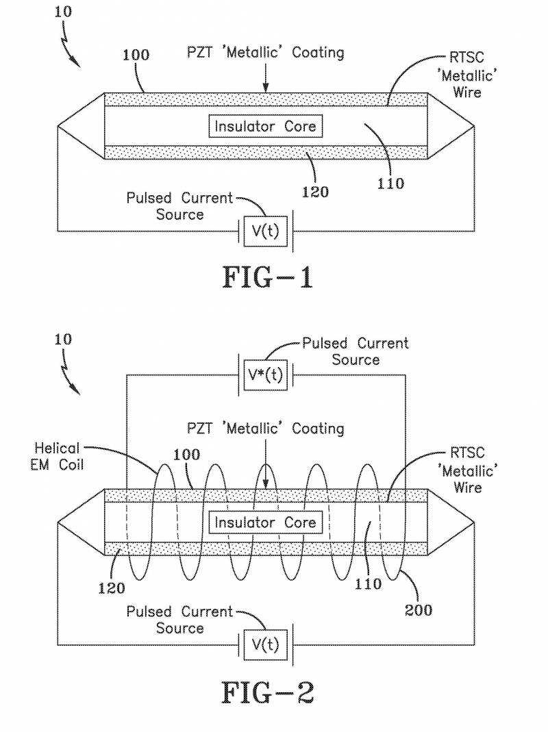
Пьезоэлектрический индуцированный сверхпроводник при комнатной температуре.
Сверхпроводник комнатной температуры представляет собой материал, способный демонстрировать сверхпроводимость при рабочих температурах, равных или превышающих 25 °С (приблизительно 300 °К).
Однако вместо того, чтобы концентрироваться на химической структуре таких материалов, которые не используют никаких электрических или механических манипуляций, сверхпроводимость может быть достигнута при комнатной температуре (RTSC) в управляемой токоведущей специальной композитной металлической проволоке. Ток должен быть импульсным для максимального эффекта. Эта концепция позволяет передавать электроэнергию без потерь и демонстрирует оптимальное тепловое управление (без тепловыделения).
Проще говоря, RTSC может быть включен в токоведущий специальный композитный металлический провод, который резко вибрирует механическими, магнитными, электрическими и/или электромагнитными средствами.
Генератор электромагнитного поля и способ генерации электромагнитного поля.
Существует четыре известных фундаментальных силы, которые контролируют материю и, следовательно, контролируют энергию, а именно: сильная ядерная сила, слабая ядерная сила, электромагнитная сила и гравитационная сила. В этой иерархии сил электромагнитная сила идеально подходит для манипулирования тремя другими.
Стационарный электрический заряд порождает электрическое (электростатическое) поле, в то время как движущийся заряд генерирует как электрическое, так и магнитное поле (отсюда и электромагнитное поле).
Кроме того, ускоряющийся заряд индуцирует электромагнитное излучение в форме поперечных волн, а именно – света. Математически, как и физически, напряженность электромагнитного поля можно представить как произведение напряженности электрического поля и напряженности магнитного поля. Электромагнитные поля действуют как носители энергии и импульса.
Искусственно сгенерированные электромагнитные поля высокой энергии сильно взаимодействуют с вакуумным энергетическим полем (совокупным состоянием, состоящим из суперпозиции флуктуаций всех квантовых полей, пронизывающих ткань пространства-времени), вызывая тем самым возникающие физические явления (другими словами – революционную физику), такие как объединение силовых и материальных полей.
Обзор заявленной доктором Сальваторе Паисом технологии «генератора электромагнитного поля высокой энергии».
Особенностью настоящего изобретения является создание способа и устройства для получения непроницаемого оборонительного щита для моря и суши, а также для космических военных и гражданских объектов, защищающих эти активы от таких угроз, как противокорабельные баллистические ракеты, для отклонения крылатых ракет, для лучшей атаки основных боевых танков (наземных и морских систем), а также для противодействия эффектам, вызванных солнечной энергией – выбросов корональной массы, или для защиты военных спутников от противоспутниковых ракет ASAT (космическая система).
Кроме того, с помощью этого изобретения стала возможной конструкция машин для выработки энергии с уровнями выходной мощности, намного превышающими пределы, достигаемые в настоящее время обычными способами.

Во многих документах также говорится, что проект HEEMFG может быть продолжен в дальнейшем Управлением военно-морских исследований (ONR), Военно-морской исследовательской лабораторией (NRL), Исследовательской лабораторией ВВС (AFRL), НАСА или даже в рамках оборонных перспективных исследовательских проектов агентства DARPA.
Существует особенно интересная электромеханическая аналогия, помогающая понять, как настоящая концепция работает в качестве щита.

Лабораторный макет установки
Представьте себе зонтик с алюминированным холстом, который быстро вращается и пульсирует (открываясь полностью, а затем слегка закрываясь, в быстрой последовательности), одновременно заряжаясь от портативного источника постоянного напряжения. Стрела или болт, попавшие в такой зонт, будут легко отклоняться не только из-за импульса, связанного с быстрым вращением и пульсацией, но также ещё и из-за добавочного «удара», вызванного дополнительным электромагнитным полем, обеспечиваемым электрифицированным полотном холста.

Похоже, что протестированные устройства были настольными версиями концепции HEEMFG Паиса или, возможно, даже несколькими версиями одной и той же идеи
Высокочастотный генератор гравитационных волн.
11 февраля 2016 года Национальный научный фонд США публично объявил, что американская лазерная интерферометрическая гравитационная волновая обсерватория (LIGO) наконец обнаружила гравитационные волны, тем самым показывая, что гравитационные волны существуют, еще больше усиливая предсказания общей теории относительности (GR).
Гравитационные волны можно рассматривать как неровности в структуре пространства-времени или, точнее – рябь в кривизне пространственно-временной ткани. Эти волны распространяют флуктуации в гравитационных полях, которые возникают из-за динамики массивных физических объектов.
Генерация мощных высокочастотных гравитационных волн (HFGW) является лишь одним из применений фундаментального инновационного принципа, лежащего в основе этой работы, а именно обеспечения макроскопической квантовой когерентности, индуцированной управляемым движением заряженного вещества, подверженного переходным процессам с быстрым ускорением.
Этот принцип может привести к возникновению физических явлений, таких как сверхпроводимость, но не ограничивается этим.
Аппарат с использованием устройства уменьшения инерционной массы.
Существуют четыре известные фундаментальные силы, которые контролируют материю и, следовательно, контролируют энергию. Четырьмя известными силами являются сильные ядерные силы, слабые ядерные силы, электромагнитная сила и гравитационная сила.
В этой иерархии сил электромагнитная сила идеально подходит для манипулирования тремя другими. Стационарный электрический заряд порождает электрическое (электростатическое) поле, в то время как движущийся заряд генерирует как электрическое, так и магнитное поле (отсюда и электромагнитное поле).
Кроме того, ускоряющий заряд индуцирует электромагнитное излучение в форме поперечных волн, а именно – света. Математически, как и физически, напряженность электромагнитного поля можно представить как произведение напряженности электрического поля и напряженности магнитного поля.
Искусственно генерируемые электромагнитные поля высокой энергии, например, созданные генератором электромагнитного поля высокой энергии (HEEMFG), сильно взаимодействуют с состоянием энергии вакуума. Энергетическое состояние вакуума можно описать как совокупное/коллективное состояние, состоящее из суперпозиции флуктуаций всех квантовых полей, пронизывающих всю структуру пространства-времени.
Взаимодействие высоких энергий с состоянием энергии вакуума может привести к возникновению физических явлений, таких как объединение силовых и материальных полей. Согласно квантовой теории поля, это сильное взаимодействие между полями основано на механизме передачи колебательной энергии между полями.
Передача колебательной энергии дополнительно вызывает локальные флуктуации в соседних квантовых полях, которые пронизывают пространство-время (эти поля могут быть или не быть электромагнитными по своей природе). Материя, энергия и пространство-время – все возникающие конструкции, которые исходят из фундаментальной структуры, которая является состоянием энергии вакуума.
Устройство термоядерного синтеза.
Заявляет в качестве своей ключевой особенности того же принципа, что и в других изобретениях Сальваторе Паиса: «управляемое движение электрически заряженного вещества посредством ускоренной вибрации и/или ускоренного вращения, подвергающегося плавным, но быстрым переходным процессам ускорения, для создания электромагнитных полей чрезвычайно высокой энергии/высокой интенсивности».

Паис цитирует некоторые из своих предыдущих публикаций в качестве доказательства того, что этот тип вращающейся, вибрирующей электромагнитной системы может создавать сильные магнитные поля, необходимые для сдерживания мощной термоядерной реакции в стабильной форме.
В патенте описывается, как эти магнитные поля генерируются внутри полой плазменной камеры, что включает в себя одну или несколько противоположных пар конических или куполообразных «противовращающихся динамических фьюзоров», которые имеют электрически заряженную внешнюю поверхность, содержащую каналы, впрыскивающие горючие газы, такие как дейтерий или дейтерий-ксенон, в плазменную камеру.
По словам Паиса, когда эти электрически заряженные фьюзеры вращаются, они «создают концентрированный поток магнитной энергии и электромагнитное излучение внутри вакуумной камеры», сжимая и нагревая газы внутри.
Эти фьюзеры вибрируют с высокой скоростью во время вращения, благодаря пьезоэлектрическим пленкам, таким как цирконат-титанат свинца (PZT) – тот же пьезоэлектрический метаматериал, который, как утверждает Паис, делает возможным его патент на сверхпроводник при комнатной температуре.
Любопытно, что в патенте говорится, что «изобретение будет обсуждаться в космической, морской или наземной среде», но отмечается, что «это изобретение может быть использовано для любого типа приложений, требующих использования выработки энергии».
Неясно, какой тип приложения может существовать, кроме космоса, моря или суши?
Мнения экспертов
Изобретениям Паиса уже посвящено несколько десятков научных статей именитых ученых.
Российских среди них нет, поэтому и их оценки можно во внимание не принимать.
Надо понимать, что научное сообщество разнородно. И даже по общепризнанным теориям, например, квантовой или теории струн, имеются десятки разных мнений и позиций.
В этом случае мнения еще более разнообразны.
И если ученые изучают теорию и суть, и мнение, то околонаучная общественность более категорична.
Рекомендую аргументацию тем, кто захочет прокомментировать содержание статьи.
Что еще удивляет меня, так это то, что передовая технология защиты редко проходит через патентную систему по очевидным причинам. Патентная система США имеет способ подать секретные патенты, и даже это не использовалось в этом случае.
Вся эта история полная чушь. Прежде всего, если бы американские военные обладали такой технологией, они никогда не подали бы патент на нее. Почему они публикуют технологию, чтобы другие (иностранные правительства и организации) могли легко ее скопировать? Правительству США не нужно защищать себя от невозможности использовать технологию, если она в любом случае была реальной. Федеральное правительство Соединенных Штатов имеет «право использовать запатентованные изобретения без разрешения».
Кажется, что технологии настолько невероятны, что это сделало бы свидетельства очевидцев в буквальном смысле «невероятными». Если бы у вас были такие технологии, вы могли бы показать себя любой группе людей меньше, чем население целого города, и никто бы им не поверил.
Разумеется, спецслужбы достаточно умны, чтобы понять, что это, вероятно, приманка, и не беспокоятся об этом?
Может быть, флот сигнализирует своим противникам, что он тоже знает об этой революционной способности и кому она принадлежит.
И завершу еще одной цитатой из Паиса.
«...такая технология «позволит быстро перемещать HAUC за пределы нашей Солнечной системы».
А что за причина, по которой США вдруг внезапно понадобились космические силы?
Про это проговариваются высшие офицеры ВВС и ВМС США.
«В разных галактиках будущего мы действительно будем иметь возможности, которые у нас есть прямо сейчас в воздухе»?
Генерал-лейтенант ВВС Вера Линн Джеймисон
Это далеко не единственная в высшей степени странная вещь, о которой говорит руководство ВВС в отношении будущего военного присутствия Америки в космосе.
И самое интересное, что недавно в ответ на настойчивые запросы о раскрытии секретной информации по этим проектам Правительство США подтвердило, что «результатом этих изобретений стала программа фундаментальных прикладных исследований/передачи технологий, которая была успешно профинансирована и привела к физической демонстрации и дальнейшим экспериментальным испытаниям».
Этот документ, естественно, имеется.
Но так как автор никого не убеждает, а только информирует, не будем перегружать читателей излишней информацией, во избежание когнитивного диссонанса...
Продолжение следует…
Автор:Сергей Иванов (9673031@mail.ru)Использованы фотографии:www.thedrive.com
В одном из этих патентов описан «гибридный аэрокосмический подводный корабль», который, как утверждается, способен демонстрировать поистине невероятные скорости и маневренность в воздухе, на воде и в открытом космосе благодаря революционной электромагнитной двигательной установке.
Преамбула
Но вначале небольшая преамбула, адресующая к моим предыдущим статьям.
В последнее время неопознанные летающие объекты заходили в воздушное пространство США, предназначенное для военных целей, несколько раз в месяц, заявил недавно Джозеф Градишер, представитель канцелярии заместителя начальника военно-морских операций по информационной войне.
Он сказал: «Мы хотим докопаться до сути. Нам нужно определить, кто это делает, откуда он и каковы их намерения. Мы должны попытаться найти способы, чтобы это не повторилось».
С середины июня 2019 года о необъяснимых наблюдениях НЛО/UAP пилотами ВМС представители ВМФ регулярно информировали членов Сената, имеющих соответствующие допуски. Они делали это и раньше, но сейчас эта информация перешла в публичную сферу.
Отчеты об этих событиях – это достоверные доказательства свойств летательных аппаратов, которые демонстрируют характеристики, отличные от всего, что мы знаем, понимаем или можем дублировать:
• зависание без движителя и выпускного шлейфа;
• чрезвычайная маневренность и потрясающие изменения в ускорении;
• достижение гиперзвуковых скоростей, обычно относящихся к скоростям свыше 5 Махов (в пять раз быстрее, чем скорость звука), без признаков звукового удара.
Это подтверждено и в последнем отчете национальной разведки США от 25 июня.
Так как невозможно воспроизвести эти летные характеристики с существующей технологией, сделан вывод о том, что это свидетельствует о технологиях следующего поколения и независимо от их принадлежности – это требует дальнейших исследований.
Главное открытие заключается в том, что существует технология, которая способна выполнять маневры в полете, которые разрушают наше восприятие движителя, управления полетом, материаловедения и даже физики.
Еще в прошлом году Трампу доложили о внеземных технологиях, источниках и методах их получения и освоения. Этому предшествовал доклад о «внеземных технологиях» и работам по «изменению метрики пространства» в Китае.
Президент США воспринял адекватно и дал санкцию на активизацию работы, следствием этого и явилась статья в законе, предусматривающая предоставление Отчета по НЛО, который мы уже рассматривали ранее в цикле «Раскрытие НЛО».
Сами эти события не являются сейчас предметом нашего обсуждения.
Радикальные американские космические технологии
Сегодня поговорим именно о наиболее радикальных американских космических технологиях, реализуемых именно сейчас.
Как бы ни относилась к этому сетевая и офлайновая российская общественность, но профессионалам обманываться нельзя. Это чревато тяжёлыми последствиями.
Эти взаимосвязанные разработки способны изменить наш привычный мир, а при желании создателей и весь геостратегический расклад.
И Китай, и США уже близки к реализации этих технических решений. И там, и там этим занимаются военно-морские лаборатории! (Адреса, явки, фамилии известны).
Речь идет не о планах и фантазиях, а о запатентованных (в том числе в России) технологиях, системах и устройствах.
Есть два пути в науке и технике: экстенсивный и прорывной. Экстенсивный – базируется на существующих научных представлениях. Мы обсуждаем пример прорывного.
То, что мы обсуждаем, это системы и реальные устройства, в том числе квази антигравитационные, с использованием «альтернативной теплой сверхпроводимости». Но не только её.
Прорывной подход основан на новых открытиях или на комплексном осмыслении всего уже известного и конвергенции этих знаний. Это то, что изменяет мир (как когда-то изобретение и создание Теслой генератора переменного тока – вся наша электрическая эпоха существует благодаря этому).
Изменяя метрику пространства-времени
Для затравки об одном таком изобретении.
Революционные «усовершенствованные электромагнитные машины (электромагнитные гибридные аэрокосмические – подводные аппараты, в том числе с экипажем!), использование которых «резко сократит текущие пределы перемещения по расстоянию и времени» и «имитирует возможности, наблюдаемые в НЛО, используя систему привода, которая изменяет метрику пространства-времени».
Объясняю.
Речь идет об аппаратах, которые могут двигаться практически с неограниченной скоростью в любой среде!
Естественно, много и иных приложений и применений, включая космические.
Это базируется на новых фундаментальных представлениях о природе материи и пространства-времени.
Автор патента на «Гибридный аэрокосмический подводный корабль» (у него еще несколько связанных патентов) – Сальваторе Цезарь Паис, ведущий специалист в Patuxent River в Мэриленде – главной испытательной базе военно-морского флота США. Несколько лет его персонально поддерживало НАСА, субсидировало его докторскую и первичные исследования (диссертация и отчеты имеются).
Сальваторе Паис на момент подачи заявки уже работал аэрокосмическим инженером в NAWCAD на военно-морской авиабазе Патаксент-Ривер в Мэриленде – главной испытательной базе ВМФ.

Биография Паиса приведена в его последней публикации в IEEE Transactions on Plasma Science
В публикации IEEE говорится, что доктор Паис больше не работает в NAVAIR/NAWCAD, но теперь трудится в программе стратегических систем ВМС США (SSP). В 2021 году он опять сменил работу.
Гибридный аэрокосмический подводный корабль

Изображение гибридного аэрокосмического подводного аппарата, прилагаемого к заявке на патент
Гибридный аэрокосмический подводный аппарат, описанный в патенте Паиса, представляется как способный к невероятным достижениям в скорости и маневренности, и он может одинаково хорошо летать в воздухе, воде или пространстве, не оставляя тепловых признаков.
Это возможно, заявляет Паис в патенте, потому что судно способно «спроектировать ткань нашей реальности на самом фундаментальном уровне», используя законы физики.
Концепция довольно проста, хотя инженерия, необходимая для ее воплощения – совсем нет.
Вся материя содержит энергию на квантовом уровне.
Теоретически производя свое невероятно плотное и поляризованное энергетическое поле, гибридное судно, как утверждается, способно создать вокруг себя квантовый «вакуум», который позволяет ему отталкивать любые молекулы воздуха или воды, с которыми он взаимодействует.
Таким образом, аппарат может, по существу, игнорировать аэродинамические или гидродинамические силы, по крайней мере, так заявлено в патенте.
В заявке на патент ВМС утверждается, что радикальные способности тяги и маневренности стали возможными благодаря невероятно мощному электромагнитному полю, которое по существу создает вокруг себя квантовый вакуум, который позволяет ему игнорировать аэродинамические или гидродинамические силы и устранять свою собственную инерционную массу из уравнения.
Таким образом, способность генерировать такие высокочастотные электромагнитные волны является ключом к предполагаемым способностям этого теоретического гибридного аппарата, который может без усилий парить в воздухе и воде на невероятных скоростях практически без сопротивления или инерции.
В своих патентах и публикациях (в рецензируемых научных журналах), описывающих гибридное аэрокосмическое подводное судно (HAUC), Паис пишет:
«...радикальные достижения в скорости и маневренности, на которые судно предположительно, могут быть достигнуты путем соединения «высокочастотного осевого вращения» или «ускоренной вибрации» с «высокочастотными колебаниями электрически заряженных систем».
В одной из последних публикаций Паис описывает гибридное аэрокосмическое подводное судно, как транспортное средство с приблизительно конусообразной формой, которое будет выглядеть круглым спереди или сзади: «HAUC имеет коническую конфигурацию, с эллиптическим поперечным сечением, похожим по геометрии на гиперзвуковую глиссирующую машину/дротик».
Можно представить гибридное аэрокосмическое подводное судно (HAUC), которое может функционировать как подводный аппарат, способный к экстремальным подводным скоростям (отсутствие трения вода-поверхность аппарата) и расширенным возможностям воздушной/подводной невидимости. Этот гибридный аппарат мог бы с большой легкостью перемещаться через воздушную/космическую/водную среду, будучи заключенным в вакуум/плазменный пузырь/оболочку, из-за связанных эффектов электромагнитного поля, вызванного отталкиванием частиц воздуха/воды и поляризацией вакуума.

Изображения летательного аппарата в патентной заявке включают описания различных компонентов, которыми может обладать такой аппарат, например: микроволновые излучатели (300); резонансная полость, заполненная благородным газом, например ксеноном (150); боевое отделение (55); клетка типа Фарадея для защиты экипажа от электромагнитных полей (58); грузовой отсек (57); система силовой установки (56); и усеченный конус, или носовой конус, который «может вращаться вокруг своей оси (25)».
Достаточно интересно, что описания корабля в нескольких публикациях Паиса и даже патент на «судно с использованием устройства уменьшения инерционной массы» включают в себя место для отсека экипажа, защищенного клеткой Фарадея.
Другие изобретения Сальваторе Паиса
Паис назван изобретателем по пяти отдельным патентам, правообладателем которых является ВМФ США:
• высокочастотный генератор высокочастотной гравитационной волны;
• сверхпроводник комнатной температуры;
• генератор электромагнитного «силового поля» (способный отклонять астероиды);
• аппарат с использованием устройства для уменьшения инерционной массы.

Изображения из двух отдельных патентов: «Аппарат с использованием устройства для уменьшения инерционной массы» (слева) и «Генератор высокочастотных гравитационных волн»
Малогабаритный термоядерный реактор
Этот последний патент был получен в 2020 году. Название: «Устройство для плазменной компрессии». Можно даже не смотреть на название.
Фактически это заявка на способ и устройство (установку) для управляемого термоядерного синтеза.
Или проще, хотя и не правильно, для медленного управляемого взрыва водородной бомбы в мирных целях.
Еще проще.
Одна предлагаемая установка (судя по патенту, лабораторная установка или прототип имеется), которая в 1000 раз дешевле, чем деньги, затраченные на Токомаки, не говоря уже об ITER, и размерами в 1000 раз меньше последней, способна с избытком обеспечить все энергетические потребности, например, любого американского штата.
Паис по этому проекту пишет одному своему научному оппоненту:
Тот факт, что моя работа по разработке компактного термоядерного реактора была принята к публикации в таком престижном журнале, как IEEE TPS, должен красноречиво говорить о ее важности и достоверности – и должен устранить (или, по крайней мере, смягчить) все заблуждения, которые вы (или любой другой человек) можете иметь, ввиду правдивости (или возможности) моих передовых физических концепций.
«Теплая сверхпроводимость» или сверхпроводник с рабочей комнатной температурой
Сверхпроводники – это материалы, которые могут проводить электричество с нулевым сопротивлением, то есть электрические токи, проходящие через них, никогда не разрушаются и не рассеиваются, как в металлах, таких как медь или серебро.
Сверхпроводники также создают свои собственные отталкивающие магнитные поля, когда их размещают рядом с магнитами, что позволяет применять такие приложения, как парящие поезда-маглевы, в настоящее время плавающие на высокой скорости в Японии и Китае.
В течение многих лет ученые стремились создать сверхпроводники комнатной температуры, электрические цепи с нулевым сопротивлением, которые генерируют мощные электромагнитные поля.
Однако для большинства сверхпроводников требуются невероятно низкие температуры, что делает их непрактичными для большинства применений за пределами лабораторий или других тщательно контролируемых сред.
Несколько недавних экспериментов по комнатной температуре или высокотемпературной сверхпроводимости имели некоторый предварительный успех, что позволяет предположить, что эта технология, могла бы стать доступной в результате дальнейших исследований.
Большинству сверхпроводников сегодня требуются чрезвычайно низкие температуры для работы, что делает их непрактичными для большинства применений за пределами лабораторий или крупномасштабной промышленной эксплуатации.
В течение многих лет сверхпроводники при комнатной температуре были чем-то вроде «священного Грааля» науки для инженеров, потому что, однажды будучи созданными, они откроют двери для невероятно новых форм передачи и хранения энергии, электродвигателей и устройств магнитной левитации.

Рисунок из патента Паиса «Пьезоэлектрический индуцированный сверхпроводник при комнатной температуре».
Следует иметь в виду, что сверхпроводник с рабочей комнатной температурой будет иметь гораздо более радикальное применение, чем даже гибридное устройство, которое теоретически может создать вокруг себя квантовый вакуум.
Доклад Паиса «Сверхпроводящая система при комнатной температуре для использования на гибридном аэрокосмическом подводном корабле» был презентован в Американском институте аэронавтики и астронавтики в январе 2019 года в Сан-Диего.

Слайд из презентации Pais 2019 «Сверхпроводящая система при комнатной температуре для использования на гибридном аэрокосмическом подводном корабле»
Паис сообщает, что «достижение сверхпроводимости при комнатной температуре представляет собой чрезвычайно разрушительную технологию, способную полностью изменить парадигму в науке и технике», и добавляет, что ее «военная и коммерческая ценность значительна».
Реализуемость изобретений
Так как имею для этого соответствующее образование и опыт, я изучил не только патенты Паиса и компании (ВМС США), но и все ссылки, связанные с ними, и могу констатировать, что патенты с профессиональной и формальной точек зрения не только суперпрофессиональны, но и безупречны.
Их, похоже, невозможно обойти.
Ссылки, то есть теория и эксперименты, лежащие в их основе, убедительны.
Информационное окружение по каждой заявке на патент – это несколько десятков, а иногда и сотен высококлассных научных статей.
Это не институтская и даже не академическая наука. Это выдающееся проявление человеческого гения, возможно, полученное от источника нечеловеческого…
Достаточно привести только несколько цитируемых Паисом авторов.
Илья Пригожин, нобелевский лауреат, академик многих национальных академий. В том числе РАН. Это без комментариев.
В обосновании метода получения «теплой сверхпроводимости» автор, помимо Пригожина, цитирует академиков Ландау и Боголюбова.
Много ссылок еще на работы одного человека, но мне известного более чем. Харрольд Путхофф (жив до сих пор), фактический создатель и научный руководитель проекта Star Gate.
Не только его собственные научные достижения эпохальны, но и практические результаты, достигнутые его коллегами, например, по вскрытию ядерного потенциала СССР и прочие (соответствующие документы имеются, но, извините, не для печати).
Там, где Путхофф, там – космические технологии (и про Хэлла, и про эти технологии и метаматериалы еще есть, что рассказать, возможно, в следующей статье).
Краткое описание сути представляемых патентов я опишу (сохранена терминология оригиналов).
Возможно, терминология не всегда соответствует общепринятым терминам из учебников, и именно эти претензии были первыми со стороны ортодоксальных экспертов.
Но оксюморон в том, что в новой теории, открывающей природу реальности, не может быть экспертов, кроме её первооткрывателей.
Эта новая теория и порождаемая ею техника носят мультидисциплинарный характер, и претензии любой из наук на исключительность своей терминологии поэтому не состоятельны.
Одним из ключевых выводов в этой теории является то, что квантовые эффекты возможны в макрообъектах. Концептуально с этим согласно уже большинство физиков, но возможность реализации в реальных устройствах, безусловно, вызовет споры.
Более подробно – в оригиналах патентов (все доступны).
Это основательные документы, соответствующие мировым патентным требованиям, которые подтверждаются многочисленными актами исследований и заключениями ведущих мировых специалистов (как всегда, Scopus и мировой патентный фонд в помощь).
Патентная интрига
Вся история с нынешними патентами ВМС проходила в рамках финансируемых исследований, которые только начинались или продолжаются. Они будут спонсироваться усиленно и приоритетно.
Имейте в виду, что патенты принадлежат Правительству США. Это принципиальное отличие от персональных патентов.

Отказ Паиса
Также важно отметить, что если бы военно-морской флот хотел, чтобы этот патент оставался классифицированным, он мог бы подать патент в соответствии с Законом о секретности изобретений 1951 года (35 USC ch. 17), который разрешает патентам оставаться классифицированными, если они могут представляют возможную угрозу для национальной безопасности Соединенных Штатов.

Закон о секретности изобретений
Главный вопрос в этих проектах лежит (или прячется) за термином «действующий».
«Функциональность/оперативность, с другой стороны, означает, что изобретение действительно работает. Из того, что я видел, отказ от работоспособности возникает в тех случаях, когда патентный поверенный не совсем понимает науку или технологию, лежащие в основе изобретения. Во многих случаях отказ, основанный на неработоспособности, является своего рода способом сказать патентному поверенному, что адвокат (заявитель) не имеет понятия, о чем он/она говорит».
В большинстве патентных заявок заявители должны приводить доказательство реализуемости патента или изобретения или степень, в которой патент работоспособен таким образом, что любое лицо, знакомое с аналогичными технологиями или методами, сможет понять и теоретически воспроизвести его.
Несмотря на то, что патенты кажутся «странными», официальные документы показывают, что технический директор военно-морского авиационного предприятия США лично подтвердил реальность этих изобретений и их важность для национальной безопасности и конкуренции между государствами в апелляциях к Бюро товарных знаков (USPTO) США.

Письмо представителя ВМФ в патентное ведомство США
Шихи уверяет экзаменатора, что он «хорошо разбирается в генерации электромагнитных полей, высокотемпературной сверхпроводимости и физике в целом».
Также обратите внимание на последнюю строку: заявление Шихи было сделано с осознанием того, что ложные заявления в адрес ВПТЗ США наказываются штрафом или тюремным заключением.
Письмо Шихи сопровождалось заявлением поверенного военно-морского авиационного предприятия Марка Глата, в котором Глат заявляет, что «Шихи заявляет, что изобретение работоспособно и задействовано».

Письмо поверенного
В то же время узкому кругу ограниченных лиц известно, что правительство США многие десятилетия проводит исследования подобных технологий, которые очень похожи по концепции на некоторые работы Паиса. Таким образом, хотя это неясные идеи и остающиеся на грани науки, они не совсем новые.
Помимо научных описаний, подтвержденных значительной библиографией и экспериментами лаборатории ВМС США, есть указание конкретных конструктивных деталей и конкретных композитных материалов и сплавов, режимов и параметров работы генераторов. Это с формальной точки зрения уже излишне.
Но это однозначно свидетельствует о наличии рабочих прототипов всех вышеперечисленных устройств. Со всеми вытекающими экономическими и военными последствиями.
Это подтверждается (хотя и не публично) документами, которые, по-видимому, предполагают, по крайней мере, из собственных утверждений ВМФ, что два весьма своеобразных патента ВМС, сверхпроводник при комнатной температуре (RTSC) и генератор электромагнитного поля высокой энергии (HEEMFG), могут на самом деле уже быть в работе каким-то образом.
Если эти две технологии уже работают, как утверждает ВМС, может ли это означать, что гибридное судно также может уже работать или быть близким к работоспособному?
В любом случае следует более чем серьёзно относиться к разработкам ВМС США, Паиса и компании и их военно-техническим приложениям!
Примечание. Думаю, читатели не обидятся, если я не буду приводить библиографию, а также детальное описание сути изобретений, формулы и ноу-хау. Но чтобы изложить кратко, как вы понимаете, надо «понимать полно» и каждое изобретение, и их взаимосвязи, порождающие «космический синергетический эффект». Для того чтобы обсуждать, надо иметь тоже соответствующий уровень образования. Так что – без обид. На личные сообщения я всегда отвечаю. Предельно кратко и, надеюсь, доходчиво изложу физическую природу описываемых явлений и научно-техническую сторону решений после выводов (шрифт помельче). Кто не дочитает – ничего не потеряет. Это для особо упорных и любящих рассуждать в комментариях о квантовой физике и компетенции автора (смайлик).
Выводы
ВМС США в рамках, по-видимому, официально санкционированного на более высоком уровне процесса раскрытия информации, получили и обнародовали несколько патентов, представляющих принципиально новую, базирующуюся на ранее не известных физических законах, технологию создания новых видов высокоэнергетических систем. В том числе – оборонительного и наступательного оружия.
Существуют серьезные доводы полагать, что патенты доктора Паиса являются частью официально санкционированного процесса раскрытия информации ВМС США, с целью не только получить мировой приоритет (что уже сделано, благодаря их патентованию во многих странах, в том числе и в России), но и для «легального» выпуска этих технологий в промышленный и военный оборот.
Помимо научных описаний, подтвержденных значительной библиографией и экспериментами лаборатории ВМС США, в патентах есть указание конкретных конструктивных деталей и конкретных композитных материалов и сплавов, режимов и параметров работы генераторов. Это однозначно свидетельствует не только о теоретических исследованиях, но и о создании опытных работоспособных образцов.
Это подтверждается официальными письмами и заявлениями действующих полномочных представителей ВМС США.
Такая вовлеченность официальных структур в патентный процесс беспрецедентна.
Каждое из изобретений доктора Паиса становится возможным реализовать, благодаря тому, что он сам описал как «эффект Паиса» – концепцию теоретической физики, которая, как утверждается, «становится возможной благодаря «управляемому движению электрически заряженной материи (из твердого тела) в плазму, посредством ускоренного вращения и/или ускоренной вибрации в условиях быстрых (но плавных) переходных процессов ускорения-замедления-ускорения».
Этот эффект, утверждает изобретатель, может привести к невероятно мощным электромагнитным энергетическим полям, которые способны «спроектировать ткань нашей реальности на самом фундаментальном уровне», что приведет к невероятным революционным открытиям в энергетике и движущих силах, квантовых коммуникациях, производстве энергии и даже в вооружении.
Все патенты взаимосвязаны и базируются на одной базовой теории и двух технологиях, имеющих фундаментальный характер.
Особенностью указанного типа изобретений является:
• создание способа, технологии и широкого класса устройств для обеспечения непроницаемого оборонительного щита для моря и суши, в том числе и от гипероружия, а также для космических военных и гражданских объектов и средств, защищающих эти активы от таких угроз;
• создание средств поражения с повышенными техническими и тактическими характеристиками (наземных, морских и космических объектов и систем);
• конструирование машин и вооружений для выработки энергии с уровнями выходной мощности, намного превышающими пределы, достигаемые в настоящее время существующими методами.
• возможность создания летательных аппаратов для любых сред, обладающих характеристиками, наблюдавшихся и наблюдаемых НЛО (включая невидимость в оптическом диапазоне).
Из прикладных проектов высокой степени проработанности патентуются и представляются:
Высокочастотный генератор гравитационных волн.
Речь идет о создание высокочастотного генератора гравитационных волн, который может быть использован «для продвинутого движения, разрушения и/или отклонения астероида и связи через твердые объекты» (применительно к менее массивным объектам это тем более возможно.) Особенностью изобретения является использование технологий и средств получения сверхпроводимости при комнатной температуре.
Аппарат с использованием устройства уменьшения инерционной массы.
В патентах скорость не приводится, но в обсуждениях она не ограничена и в земных условиях, по ссылкам, достигает 20 Махов в воздушной среде при возможности движения в воде и в других средах.
Аппарат, обладающий всеми свойствами НЛО, включая управление метрикой пространства) – видимо, более поздняя перспектива, но теоретические и технологически предпосылки для его создания уже имеются.
Революционный потенциал прорывных электромагнитных технологий, в случае их реализации, огромен, особенно для аэрокосмической отрасли и ВМФ. Единоличное владение США подобной технологией создает потенциальные опасности для РФ и снижает эффективность ответных мер в случае такой необходимости.
Внутренние документы показывают, что ВМС и Министерство обороны США считают, что эта технология имеет «значение для национальной безопасности, поскольку ведет к созданию источника термоядерной энергии с коммерческим, а также военным потенциалом для обеспечения национального энергетического и военного доминирования».
Технический комментарий
Техническая сторона, предельно кратко и, надеюсь, доходчиво.
Пьезоэлектрический индуцированный сверхпроводник при комнатной температуре.
Сверхпроводник комнатной температуры представляет собой материал, способный демонстрировать сверхпроводимость при рабочих температурах, равных или превышающих 25 °С (приблизительно 300 °К).
Однако вместо того, чтобы концентрироваться на химической структуре таких материалов, которые не используют никаких электрических или механических манипуляций, сверхпроводимость может быть достигнута при комнатной температуре (RTSC) в управляемой токоведущей специальной композитной металлической проволоке. Ток должен быть импульсным для максимального эффекта. Эта концепция позволяет передавать электроэнергию без потерь и демонстрирует оптимальное тепловое управление (без тепловыделения).
Проще говоря, RTSC может быть включен в токоведущий специальный композитный металлический провод, который резко вибрирует механическими, магнитными, электрическими и/или электромагнитными средствами.
Генератор электромагнитного поля и способ генерации электромагнитного поля.
Существует четыре известных фундаментальных силы, которые контролируют материю и, следовательно, контролируют энергию, а именно: сильная ядерная сила, слабая ядерная сила, электромагнитная сила и гравитационная сила. В этой иерархии сил электромагнитная сила идеально подходит для манипулирования тремя другими.
Стационарный электрический заряд порождает электрическое (электростатическое) поле, в то время как движущийся заряд генерирует как электрическое, так и магнитное поле (отсюда и электромагнитное поле).
Кроме того, ускоряющийся заряд индуцирует электромагнитное излучение в форме поперечных волн, а именно – света. Математически, как и физически, напряженность электромагнитного поля можно представить как произведение напряженности электрического поля и напряженности магнитного поля. Электромагнитные поля действуют как носители энергии и импульса.
Искусственно сгенерированные электромагнитные поля высокой энергии сильно взаимодействуют с вакуумным энергетическим полем (совокупным состоянием, состоящим из суперпозиции флуктуаций всех квантовых полей, пронизывающих ткань пространства-времени), вызывая тем самым возникающие физические явления (другими словами – революционную физику), такие как объединение силовых и материальных полей.
Обзор заявленной доктором Сальваторе Паисом технологии «генератора электромагнитного поля высокой энергии».
Особенностью настоящего изобретения является создание способа и устройства для получения непроницаемого оборонительного щита для моря и суши, а также для космических военных и гражданских объектов, защищающих эти активы от таких угроз, как противокорабельные баллистические ракеты, для отклонения крылатых ракет, для лучшей атаки основных боевых танков (наземных и морских систем), а также для противодействия эффектам, вызванных солнечной энергией – выбросов корональной массы, или для защиты военных спутников от противоспутниковых ракет ASAT (космическая система).
Кроме того, с помощью этого изобретения стала возможной конструкция машин для выработки энергии с уровнями выходной мощности, намного превышающими пределы, достигаемые в настоящее время обычными способами.

Во многих документах также говорится, что проект HEEMFG может быть продолжен в дальнейшем Управлением военно-морских исследований (ONR), Военно-морской исследовательской лабораторией (NRL), Исследовательской лабораторией ВВС (AFRL), НАСА или даже в рамках оборонных перспективных исследовательских проектов агентства DARPA.
Существует особенно интересная электромеханическая аналогия, помогающая понять, как настоящая концепция работает в качестве щита.

Лабораторный макет установки
Представьте себе зонтик с алюминированным холстом, который быстро вращается и пульсирует (открываясь полностью, а затем слегка закрываясь, в быстрой последовательности), одновременно заряжаясь от портативного источника постоянного напряжения. Стрела или болт, попавшие в такой зонт, будут легко отклоняться не только из-за импульса, связанного с быстрым вращением и пульсацией, но также ещё и из-за добавочного «удара», вызванного дополнительным электромагнитным полем, обеспечиваемым электрифицированным полотном холста.

Похоже, что протестированные устройства были настольными версиями концепции HEEMFG Паиса или, возможно, даже несколькими версиями одной и той же идеи
Высокочастотный генератор гравитационных волн.
11 февраля 2016 года Национальный научный фонд США публично объявил, что американская лазерная интерферометрическая гравитационная волновая обсерватория (LIGO) наконец обнаружила гравитационные волны, тем самым показывая, что гравитационные волны существуют, еще больше усиливая предсказания общей теории относительности (GR).
Гравитационные волны можно рассматривать как неровности в структуре пространства-времени или, точнее – рябь в кривизне пространственно-временной ткани. Эти волны распространяют флуктуации в гравитационных полях, которые возникают из-за динамики массивных физических объектов.
Генерация мощных высокочастотных гравитационных волн (HFGW) является лишь одним из применений фундаментального инновационного принципа, лежащего в основе этой работы, а именно обеспечения макроскопической квантовой когерентности, индуцированной управляемым движением заряженного вещества, подверженного переходным процессам с быстрым ускорением.
Этот принцип может привести к возникновению физических явлений, таких как сверхпроводимость, но не ограничивается этим.
Аппарат с использованием устройства уменьшения инерционной массы.
Существуют четыре известные фундаментальные силы, которые контролируют материю и, следовательно, контролируют энергию. Четырьмя известными силами являются сильные ядерные силы, слабые ядерные силы, электромагнитная сила и гравитационная сила.
В этой иерархии сил электромагнитная сила идеально подходит для манипулирования тремя другими. Стационарный электрический заряд порождает электрическое (электростатическое) поле, в то время как движущийся заряд генерирует как электрическое, так и магнитное поле (отсюда и электромагнитное поле).
Кроме того, ускоряющий заряд индуцирует электромагнитное излучение в форме поперечных волн, а именно – света. Математически, как и физически, напряженность электромагнитного поля можно представить как произведение напряженности электрического поля и напряженности магнитного поля.
Искусственно генерируемые электромагнитные поля высокой энергии, например, созданные генератором электромагнитного поля высокой энергии (HEEMFG), сильно взаимодействуют с состоянием энергии вакуума. Энергетическое состояние вакуума можно описать как совокупное/коллективное состояние, состоящее из суперпозиции флуктуаций всех квантовых полей, пронизывающих всю структуру пространства-времени.
Взаимодействие высоких энергий с состоянием энергии вакуума может привести к возникновению физических явлений, таких как объединение силовых и материальных полей. Согласно квантовой теории поля, это сильное взаимодействие между полями основано на механизме передачи колебательной энергии между полями.
Передача колебательной энергии дополнительно вызывает локальные флуктуации в соседних квантовых полях, которые пронизывают пространство-время (эти поля могут быть или не быть электромагнитными по своей природе). Материя, энергия и пространство-время – все возникающие конструкции, которые исходят из фундаментальной структуры, которая является состоянием энергии вакуума.
Устройство термоядерного синтеза.
Заявляет в качестве своей ключевой особенности того же принципа, что и в других изобретениях Сальваторе Паиса: «управляемое движение электрически заряженного вещества посредством ускоренной вибрации и/или ускоренного вращения, подвергающегося плавным, но быстрым переходным процессам ускорения, для создания электромагнитных полей чрезвычайно высокой энергии/высокой интенсивности».

Паис цитирует некоторые из своих предыдущих публикаций в качестве доказательства того, что этот тип вращающейся, вибрирующей электромагнитной системы может создавать сильные магнитные поля, необходимые для сдерживания мощной термоядерной реакции в стабильной форме.
В патенте описывается, как эти магнитные поля генерируются внутри полой плазменной камеры, что включает в себя одну или несколько противоположных пар конических или куполообразных «противовращающихся динамических фьюзоров», которые имеют электрически заряженную внешнюю поверхность, содержащую каналы, впрыскивающие горючие газы, такие как дейтерий или дейтерий-ксенон, в плазменную камеру.
По словам Паиса, когда эти электрически заряженные фьюзеры вращаются, они «создают концентрированный поток магнитной энергии и электромагнитное излучение внутри вакуумной камеры», сжимая и нагревая газы внутри.
Эти фьюзеры вибрируют с высокой скоростью во время вращения, благодаря пьезоэлектрическим пленкам, таким как цирконат-титанат свинца (PZT) – тот же пьезоэлектрический метаматериал, который, как утверждает Паис, делает возможным его патент на сверхпроводник при комнатной температуре.
Любопытно, что в патенте говорится, что «изобретение будет обсуждаться в космической, морской или наземной среде», но отмечается, что «это изобретение может быть использовано для любого типа приложений, требующих использования выработки энергии».
Неясно, какой тип приложения может существовать, кроме космоса, моря или суши?
Мнения экспертов
Изобретениям Паиса уже посвящено несколько десятков научных статей именитых ученых.
Российских среди них нет, поэтому и их оценки можно во внимание не принимать.
Надо понимать, что научное сообщество разнородно. И даже по общепризнанным теориям, например, квантовой или теории струн, имеются десятки разных мнений и позиций.
В этом случае мнения еще более разнообразны.
И если ученые изучают теорию и суть, и мнение, то околонаучная общественность более категорична.
Рекомендую аргументацию тем, кто захочет прокомментировать содержание статьи.
Что еще удивляет меня, так это то, что передовая технология защиты редко проходит через патентную систему по очевидным причинам. Патентная система США имеет способ подать секретные патенты, и даже это не использовалось в этом случае.
Вся эта история полная чушь. Прежде всего, если бы американские военные обладали такой технологией, они никогда не подали бы патент на нее. Почему они публикуют технологию, чтобы другие (иностранные правительства и организации) могли легко ее скопировать? Правительству США не нужно защищать себя от невозможности использовать технологию, если она в любом случае была реальной. Федеральное правительство Соединенных Штатов имеет «право использовать запатентованные изобретения без разрешения».
Кажется, что технологии настолько невероятны, что это сделало бы свидетельства очевидцев в буквальном смысле «невероятными». Если бы у вас были такие технологии, вы могли бы показать себя любой группе людей меньше, чем население целого города, и никто бы им не поверил.
Разумеется, спецслужбы достаточно умны, чтобы понять, что это, вероятно, приманка, и не беспокоятся об этом?
Может быть, флот сигнализирует своим противникам, что он тоже знает об этой революционной способности и кому она принадлежит.
И завершу еще одной цитатой из Паиса.
«...такая технология «позволит быстро перемещать HAUC за пределы нашей Солнечной системы».
А что за причина, по которой США вдруг внезапно понадобились космические силы?
Про это проговариваются высшие офицеры ВВС и ВМС США.
«В разных галактиках будущего мы действительно будем иметь возможности, которые у нас есть прямо сейчас в воздухе»?
Генерал-лейтенант ВВС Вера Линн Джеймисон
Это далеко не единственная в высшей степени странная вещь, о которой говорит руководство ВВС в отношении будущего военного присутствия Америки в космосе.
И самое интересное, что недавно в ответ на настойчивые запросы о раскрытии секретной информации по этим проектам Правительство США подтвердило, что «результатом этих изобретений стала программа фундаментальных прикладных исследований/передачи технологий, которая была успешно профинансирована и привела к физической демонстрации и дальнейшим экспериментальным испытаниям».
Этот документ, естественно, имеется.
Но так как автор никого не убеждает, а только информирует, не будем перегружать читателей излишней информацией, во избежание когнитивного диссонанса...
Продолжение следует…
Автор:Сергей Иванов (9673031@mail.ru)Использованы фотографии:www.thedrive.com
Взято: Тут
752