Starweaver
Пистолеты для «полицейского пейнтбола». Часть 1 ( 23 фото + 3 видео )
В моих предыдущих материалах вы углубились в «Историю пейнтбола», узнали, что такое «Тактический пейнтбол и нелетальная система UTPBS». Также вы ознакомились с экспериментальным изделием XM-303 и с серийными образцами «FN 303: гуманного оружия от FN Herstal».
Однако данная серия была бы неполной, так как FN Herstal производит и компактную версию гуманного оружия. Это пистолет несмертельного действия FN 303-P (Р = Pistol). Как и предыдущая, более габаритная модель, он разработан на базе пейнтбольных технологий, а именно маркера Tac8 (позже T8) от Tiberius Arms.

Требования к новому изделию
После нескольких лет эксплуатации «полноформатной» установки FN 303 производитель стал получать от силовиков отзывы. Они оценили по достоинству эффективность изделия, однако не обошлось и без нареканий. В основном пожелания относились к габаритам оружия. Оказалось, им требовалось более компактное изделие под тот же спецбоеприпас нелетального действия, которое можно было бы применять в ограниченных пространствах. Чтобы не стесняло движений в автотранспорте и было удобным для применения в помещениях. Годное для постоянного ношения как полицейскими во время патрулирования, так и тюремным персоналом во время обходов. Лёгкое настолько, чтобы носить его параллельно с табельным огнестрельным оружием и применять их по ситуации.
Второе пожелание касалось упрощения процедуры заправки баллонов рабочим газом. Эксплуатанты желали обойтись без громоздких накопителей для сжатого воздуха, заправочных шлангов и компрессоров. Прав был Nikolaevich I, когда написал в комментарии к моей предыдущей статье: «И зачем таскать с собой баллоны и компрессоры?»
Пистолет FN 303-P
Про изделие FN 303-P удалось найти крайне мало данных. По этой причине автор обратился к производителю с просьбой предоставить дополнительные сведения. Однако просьба осталась без ответа. Также проигнорировали обращение ещё несколько производителей, о которых пойдёт речь в данной статье. Поэтому вначале будет изложен тот минимум информации про FN 303-P, который удалось собрать. Затем в определённом порядке будут описаны и несколько моделей от других производителей, которые имеют к сегодняшней теме то или иное отношение.
В октябре 2006 года компания FN Herstal провела демонстрационные стрельбы, на которых был представлен прототип нелетального пистолета. Несколько источников указывают, что данное изделие получило рабочее обозначение «Р-3». Стало известно, что подача боеприпасов осуществляется из отъёмного магазина, который размещается в рукоятке. В магазине также размещается и баллончик с рабочим газом (CO2). Тип боеприпасов — уже известные читателям стабилизированные снаряды для FN 303. Позже на официальном сайте опубликовали описание, согласно которому ствол и кожух изделия выполнены из некоего сплава, а затвор — из нержавеющей стали.



Однако потребовалось несколько лет, пока производитель решил продемонстрировать изделие широкой публике. Скорее всего, столько времени потребовалось на проведение всесторонних испытаний и его доводку до требуемого уровня. Пистолет был впервые показан в 2009 году на выставке SHOT Show (Орландо, США). С того момента он получил обозначение FN 303-P.

Пистолет FN 303-P на стенде компании
Выставка SHOT Show 2009 (15-18 января)
Обратите внимание на надпись на корпусе
Как и на старшей модели, на пистолет FN 303-P нанесена предупредительная надпись: «Применять с крайней осторожностью. Не предназначен для развлекательной стрельбы. Неправильное использование изделия может привести к травме или смерти. Никогда не цельтесь в лицо или голову». А на корпусе под первой надписью: «Это не игрушка. Перед применением изучить руководство». Со временем надпись несколько изменилась, но смысл остался неизменным.

Первое фото пистолета FN 303-P на сайте производителя
Анонс был в марте 2009 года
Следующее упоминание на сайте производителя датируется осенью 2009 года (05 октября). FN Herstal объявлял предварительную запись на курс обучения по обслуживанию, хранению и применению несмертельного оружия. Обучение (FN Training Team) должно стартовать в январе 2010 года и включало освоение карабина FN T4, изделия FN 303 и пистолета FN 303-P. Отмечу, что карабин несмертельного действия T4 не пошёл в серию под маркой Fabrique Nationale. Зато это же изделие поставляли иные производители, о которых речь пойдёт ниже.
В некоторых источниках утверждается, что пистолет FN 303-P производится с 2011 года. Однако автору не удалось обнаружить достоверных данных ни о продажах, ни о реальных случаях его применения. Куда больше информации находится в открытом доступе относительно изделий от сторонних производителей, которые являются если не близнецами, то ближайшими родственниками. О них и пойдёт речь после сравнительной таблицы полноформатной модели (карабина) FN 303 и пистолета FN 303-P.

Маркер Tiberius Arms Tac8 / T8
К тому времени, когда в FN Herstal было принято решение предложить силовикам более компактное изделие несмертельного действия — на рынке уже предлагался маркер для пейнтбола Tac8, который производила компания Tiberius Arms (США). Маркер был механическим.
Отмечу, что на момент своего появления Tiberius Tac8 (позже T8) был первым в мире маркером с подачей снарядов из отъёмного магазина, который размещался в рукоятке. В то время данное техническое решение стало настоящим прорывом в пейнтбольной индустрии. Магазин коробчатого типа вмещал в себя до 8 метательных снарядов. Впоследствии маркеры с магазинной подачей шаров получили обозначение MagFed или Magazine-Fed.

Возможно, одно из первых фото маркера Tiberius Tac8/T8
Обратите внимание на вырез в верхней части «кожуха затвора» а-ля Беретта 92
В магазине размещались не только снаряды, но и баллон с рабочим газом (12-граммовый баллончик с СО2). Так, при смене магазина оператор маркера одним движением не только снаряжал изделие боеприпасами, но и заодно менял частично израсходованный баллон с углекислым газом на новый. То есть, компания Tiberius Arms предложила элегантное решение проблемы дозаправки баллонов без помощи накопителей для сжатого воздуха (Air Bank) и всего прочего. Баллон с CO2 обеспечивал до 24 выстрелов (3 магазина).
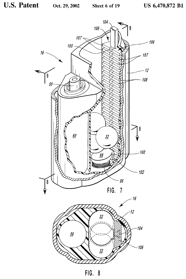
В магазине предусмотрен выпускной клапан (CO2 Valve Housing). Поэтому, при извлечении магазина с неизрасходованным газом в баллоне, выпускной клапан автоматически перекрывает его подачу. Все, кому приходилось хоть раз подкачивать насосом шину автомобиля или велосипеда, сразу поймут, как он работает. Так как на момент анонсирования маркера Tac8 размещение боеприпасов по-пистолетному (в его рукоятке) признавалось прорывом, то и решение с воздушным клапаном также считалось революционным и уникальным.

Схема выпускного клапана магазина Tiberius Arms T8/T9
Заявка на патент (пневматическое оружие с магазинной подачей боеприпасов) была подана 03.04.2000 года. А 29 октября 2002 был получен патент US6470872B1. Изобретатели: Бенджамин Тибериус, Деннис Тибериус и Кайл Хансен. Изначально права принадлежали компании Tactical Air Games (бренд Tiberius Arms).

Общая схема маркера Tiberius Arms

Принципиальная схема работы автоматики

Устройство магазина для шаров

Схема спускового механизма
Много лет спустя права на патент перешли компании United Tactical Systems из Калифорнии (бренд PepperBal). Права принадлежат ей до сих пор. Из патента следует, что в качестве снарядов оружие использовало желатиновые шары сферической формы.

Принципиальная схема работы автоматики маркеров подобного типа.
В Tiberius T8 реализованы технические решения, которые использовались в маркерах Automag и Minimag от Airgun Designs. Из предыдущей статьи вы помните, что схема автоматики, применяемая на Automag стала основой для нелетального устройства FN 303. В Tiberius T8 болтовая группа также построена по схеме Spool Valve (золотниковый клапан). Не взаимозаменяема, но похожа.

На фото маркер Tac8 1-й серии
Маркер с фото был куплен владельцем в 2008 году, использовался до 2010 года и с тех пор он хранился в коробке. Серийный номер находится в диапазоне 7000, поэтому он относится к 1-му поколению маркеров. Продавец отмечает, что для стрельбы подходят только шары. Маркер был выставлен им на продажу в марте 2017.

В тыльной части кожуха расположен регулятор давления. При помощи многогранника оператор понижает/повышает давление до приемлемого. Таким образом регулируется скорость покидающего ствол снаряда. Трещина на раме (по утверждениям продавца) — частое явление у образцов 1-го поколения. Мушка маркера отбита в результате его падения.

Маркеры Tiberius 8 и Tiberius T9
На рукоятке, за спусковым крючком расположена кнопка фиксатора магазина. А над спусковым крючком расположена кнопка предохранителя ползункового типа, которая перемещается в окошке маркера (window). На фото выше — окошко красного цвета, что означает: предохранитель включен, то есть стрельба невозможна. Во включенном положении предохранитель блокирует спусковой крючок. При выключенном предохранителе окошко чёрного цвета.
Стоит отметить, что кнопки фиксатора магазина и предохранителя двухсторонние, то есть дублируются на противоположной части рамки. Другими словами, разработчики предусмотрели удобство использования как для правшей, так и левшей. Поэтому к данному маркеру применим термин «амбидекстральный».
Основным отличием маркера T9 является его модульность. Данную модель можно апгрейдить вплоть до габаритов карабина. Изначально предусмотрена возможность изменять длину ствола. Для этого на дульный срез можно «накрутить» удлинитель ствола (extended barrel), либо заменить штатный ствол на другой, большей длины (снайперский). Ствол выполнен быстросъёмным, крепится в корпусе специальными упорами. Есть данные, что вначале ни один сторонний производитель не предлагал альтернативные стволы для маркеров марки Tiberius Arms. А «родные» стволы были не лучшего качества.

У T9 предусмотрена и возможность присоединения приклада. Для этого, на тыльной части кожуха установлен узел крепления приклада (Stock Adapter). Этот же узел позволяет подавать рабочий газ непосредственно в клапан, поэтому можно присоединить как обычный приклад, так и приклад со встроенным баллоном. Также возможно подключение мамбы для внешнего баллона HPA и установка фидера для шаров.

Маркер Tiberius Arms T9.1 в комплектации «Снайперская винтовка»
Обратите внимание на приклад с баллоном

Также обратите внимание на наличие планки Пикатинни на кожухе маркера T9. Рельсовый интерфейс (RIS) для навесного оборудования и аксессуаров является стандартным для данной модели. Под стволом расположен винт с рифлёной головкой, который служит для крепления удлинённого цевья (front shroud). В результате получается винтовка, как показано на фото выше.
Обслуживание изделия
Для оптимальной работы изделия производитель рекомендует ежемесячно смазывать его детали небольшим количеством масла. Для этого маркер нужно разрядить, разобрать и добавить по 1 капле масла на:
— элементы спускового механизма (Between trigger & Trigger rotator);
— регулятор давления и уплотнительное кольцо (Regulator spring pad & Regulator spring pad O-Ring);
— затвор и уплотнительное кольцо (Grease the AC Cap O-Ring);
— выпускной клапан магазина и уплотнительное кольцо (CO2 O-Ring & top of CO2 valve Magazine).
Недостатки
Любое изделие обладает не только достоинствами, но и недостатками. Есть свои минусы и у газобаллонной пневматики.
Газобаллонная пневматика (с CO2) исправно работает при плюсовой температуре окружающей среды. А при минусовой температуре газ сжижается и в результате падает мощность выстрела. Например, в инструкции к пистолету МР-654К (аналог ПМ, ИжМех) указан оптимальный диапазон от +10 до +30°C. При температуре свыше +30°C также возможно временное снижение скорости вылета первых пуль.
Для обеспечения долговечности уплотнителей не рекомендуется хранить длительное время магазин с присоединённым баллончиком с CO2.
За пояснениями автор обратился в концерн «Калашников». Сотрудник концерна, Дмитрий Писцов, на примере модели МР-654К сообщил о некоторых особенностях обслуживания отечественной пневматики. После накола баллона — его рекомендуется полностью отстрелять. Хранить пистолет с «проколотым» баллоном не рекомендуется, иначе со временем уплотнители начнут травить. При соблюдении данного условия их замена потребуется нескоро. Смазывать изделие достаточно раз в полгода: для профилактики. Либо в случае попадания воды.
Маркер Tiberius T4
Производила компания Tiberius Arms и маркер в формате карабина (имитацию M4/М16). Речь о модели Tiberius T4. Помните, в начале статьи упоминалась модель FN T4, которая не пошла в серию, но фигурировала в новости о записи на курс обучения? Видимо вначале в FN Herstal планировали выпускать его под своей маркой, но затем планы изменились. К теме пистолетов для пейнтбола данная модель не относится, однако она послужила базой для создания «полноформатных» маркеров сторонними производителями.

Карабин Tiberius T4. Обратите внимание на форму магазина

По большому счёту, в карабине T4 использованы те же механизмы, что и в пистолетах Tiberius Arms. Практически та же болтовая группа и спусковой механизм. Регулятор давления также расположен в тыльной части кожуха и есть возможность подачи боеприпасов из фидера (опция). Даже подача боеприпасов и рабочего газа тоже осуществляется из магазина. Основным отличием является его расположение: перед спусковой скобой. Оно и понятно, ведь пистолет и карабин отличаются как габаритами, так и компоновкой.

Вырезка из инструкции к карабину T4
Магазин снаряжается боеприпасами (10 снарядов, а позже и на 14). В него же вставляется и контейнер (carrier) с 12-граммовым баллоном CO2. Из-за контейнера с баллоном форма магазина не изогнутая, а прямая.
Есть ещё несколько моделей, о которых есть что рассказать. Читайте о них в следующей части.
Продолжение следует...
Автор благодарит за консультации:
Bongo (Сергея Линника)
Дмитрия Писцова (концерн «Калашников»)
FN 303 и FN 303-P Официальный ролик FN Herstal:
Демонстрация Tiberus Tac8. Любительское видео:
Полная разборка маркера Tiberius Т8:
Автор:Михаил ЗадунайскийСтатьи из этой серии:История пейнтбола
Тактический пейнтбол и нелетальная система UTPBS
Однако данная серия была бы неполной, так как FN Herstal производит и компактную версию гуманного оружия. Это пистолет несмертельного действия FN 303-P (Р = Pistol). Как и предыдущая, более габаритная модель, он разработан на базе пейнтбольных технологий, а именно маркера Tac8 (позже T8) от Tiberius Arms.

Требования к новому изделию
После нескольких лет эксплуатации «полноформатной» установки FN 303 производитель стал получать от силовиков отзывы. Они оценили по достоинству эффективность изделия, однако не обошлось и без нареканий. В основном пожелания относились к габаритам оружия. Оказалось, им требовалось более компактное изделие под тот же спецбоеприпас нелетального действия, которое можно было бы применять в ограниченных пространствах. Чтобы не стесняло движений в автотранспорте и было удобным для применения в помещениях. Годное для постоянного ношения как полицейскими во время патрулирования, так и тюремным персоналом во время обходов. Лёгкое настолько, чтобы носить его параллельно с табельным огнестрельным оружием и применять их по ситуации.
Второе пожелание касалось упрощения процедуры заправки баллонов рабочим газом. Эксплуатанты желали обойтись без громоздких накопителей для сжатого воздуха, заправочных шлангов и компрессоров. Прав был Nikolaevich I, когда написал в комментарии к моей предыдущей статье: «И зачем таскать с собой баллоны и компрессоры?»
Пистолет FN 303-P
Про изделие FN 303-P удалось найти крайне мало данных. По этой причине автор обратился к производителю с просьбой предоставить дополнительные сведения. Однако просьба осталась без ответа. Также проигнорировали обращение ещё несколько производителей, о которых пойдёт речь в данной статье. Поэтому вначале будет изложен тот минимум информации про FN 303-P, который удалось собрать. Затем в определённом порядке будут описаны и несколько моделей от других производителей, которые имеют к сегодняшней теме то или иное отношение.
В октябре 2006 года компания FN Herstal провела демонстрационные стрельбы, на которых был представлен прототип нелетального пистолета. Несколько источников указывают, что данное изделие получило рабочее обозначение «Р-3». Стало известно, что подача боеприпасов осуществляется из отъёмного магазина, который размещается в рукоятке. В магазине также размещается и баллончик с рабочим газом (CO2). Тип боеприпасов — уже известные читателям стабилизированные снаряды для FN 303. Позже на официальном сайте опубликовали описание, согласно которому ствол и кожух изделия выполнены из некоего сплава, а затвор — из нержавеющей стали.



Однако потребовалось несколько лет, пока производитель решил продемонстрировать изделие широкой публике. Скорее всего, столько времени потребовалось на проведение всесторонних испытаний и его доводку до требуемого уровня. Пистолет был впервые показан в 2009 году на выставке SHOT Show (Орландо, США). С того момента он получил обозначение FN 303-P.

Пистолет FN 303-P на стенде компании
Выставка SHOT Show 2009 (15-18 января)
Обратите внимание на надпись на корпусе
Как и на старшей модели, на пистолет FN 303-P нанесена предупредительная надпись: «Применять с крайней осторожностью. Не предназначен для развлекательной стрельбы. Неправильное использование изделия может привести к травме или смерти. Никогда не цельтесь в лицо или голову». А на корпусе под первой надписью: «Это не игрушка. Перед применением изучить руководство». Со временем надпись несколько изменилась, но смысл остался неизменным.

Первое фото пистолета FN 303-P на сайте производителя
Анонс был в марте 2009 года
Следующее упоминание на сайте производителя датируется осенью 2009 года (05 октября). FN Herstal объявлял предварительную запись на курс обучения по обслуживанию, хранению и применению несмертельного оружия. Обучение (FN Training Team) должно стартовать в январе 2010 года и включало освоение карабина FN T4, изделия FN 303 и пистолета FN 303-P. Отмечу, что карабин несмертельного действия T4 не пошёл в серию под маркой Fabrique Nationale. Зато это же изделие поставляли иные производители, о которых речь пойдёт ниже.
В некоторых источниках утверждается, что пистолет FN 303-P производится с 2011 года. Однако автору не удалось обнаружить достоверных данных ни о продажах, ни о реальных случаях его применения. Куда больше информации находится в открытом доступе относительно изделий от сторонних производителей, которые являются если не близнецами, то ближайшими родственниками. О них и пойдёт речь после сравнительной таблицы полноформатной модели (карабина) FN 303 и пистолета FN 303-P.

Маркер Tiberius Arms Tac8 / T8
К тому времени, когда в FN Herstal было принято решение предложить силовикам более компактное изделие несмертельного действия — на рынке уже предлагался маркер для пейнтбола Tac8, который производила компания Tiberius Arms (США). Маркер был механическим.
Отмечу, что на момент своего появления Tiberius Tac8 (позже T8) был первым в мире маркером с подачей снарядов из отъёмного магазина, который размещался в рукоятке. В то время данное техническое решение стало настоящим прорывом в пейнтбольной индустрии. Магазин коробчатого типа вмещал в себя до 8 метательных снарядов. Впоследствии маркеры с магазинной подачей шаров получили обозначение MagFed или Magazine-Fed.

Возможно, одно из первых фото маркера Tiberius Tac8/T8
Обратите внимание на вырез в верхней части «кожуха затвора» а-ля Беретта 92
В магазине размещались не только снаряды, но и баллон с рабочим газом (12-граммовый баллончик с СО2). Так, при смене магазина оператор маркера одним движением не только снаряжал изделие боеприпасами, но и заодно менял частично израсходованный баллон с углекислым газом на новый. То есть, компания Tiberius Arms предложила элегантное решение проблемы дозаправки баллонов без помощи накопителей для сжатого воздуха (Air Bank) и всего прочего. Баллон с CO2 обеспечивал до 24 выстрелов (3 магазина).
В магазине предусмотрен выпускной клапан (CO2 Valve Housing). Поэтому, при извлечении магазина с неизрасходованным газом в баллоне, выпускной клапан автоматически перекрывает его подачу. Все, кому приходилось хоть раз подкачивать насосом шину автомобиля или велосипеда, сразу поймут, как он работает. Так как на момент анонсирования маркера Tac8 размещение боеприпасов по-пистолетному (в его рукоятке) признавалось прорывом, то и решение с воздушным клапаном также считалось революционным и уникальным.

Схема выпускного клапана магазина Tiberius Arms T8/T9
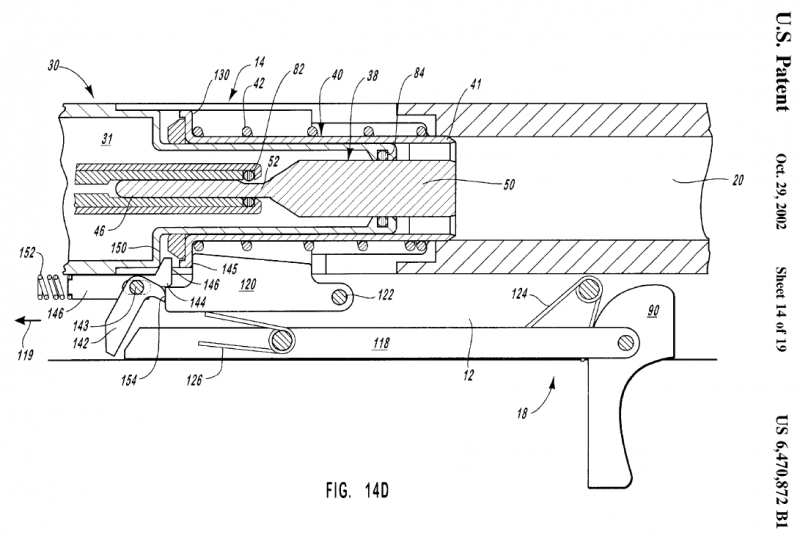
Заявка на патент (пневматическое оружие с магазинной подачей боеприпасов) была подана 03.04.2000 года. А 29 октября 2002 был получен патент US6470872B1. Изобретатели: Бенджамин Тибериус, Деннис Тибериус и Кайл Хансен. Изначально права принадлежали компании Tactical Air Games (бренд Tiberius Arms).

Общая схема маркера Tiberius Arms

Принципиальная схема работы автоматики

Устройство магазина для шаров

Схема спускового механизма
Много лет спустя права на патент перешли компании United Tactical Systems из Калифорнии (бренд PepperBal). Права принадлежат ей до сих пор. Из патента следует, что в качестве снарядов оружие использовало желатиновые шары сферической формы.

Принципиальная схема работы автоматики маркеров подобного типа.
В Tiberius T8 реализованы технические решения, которые использовались в маркерах Automag и Minimag от Airgun Designs. Из предыдущей статьи вы помните, что схема автоматики, применяемая на Automag стала основой для нелетального устройства FN 303. В Tiberius T8 болтовая группа также построена по схеме Spool Valve (золотниковый клапан). Не взаимозаменяема, но похожа.

На фото маркер Tac8 1-й серии
Маркер с фото был куплен владельцем в 2008 году, использовался до 2010 года и с тех пор он хранился в коробке. Серийный номер находится в диапазоне 7000, поэтому он относится к 1-му поколению маркеров. Продавец отмечает, что для стрельбы подходят только шары. Маркер был выставлен им на продажу в марте 2017.

В тыльной части кожуха расположен регулятор давления. При помощи многогранника оператор понижает/повышает давление до приемлемого. Таким образом регулируется скорость покидающего ствол снаряда. Трещина на раме (по утверждениям продавца) — частое явление у образцов 1-го поколения. Мушка маркера отбита в результате его падения.

Маркеры Tiberius 8 и Tiberius T9
На рукоятке, за спусковым крючком расположена кнопка фиксатора магазина. А над спусковым крючком расположена кнопка предохранителя ползункового типа, которая перемещается в окошке маркера (window). На фото выше — окошко красного цвета, что означает: предохранитель включен, то есть стрельба невозможна. Во включенном положении предохранитель блокирует спусковой крючок. При выключенном предохранителе окошко чёрного цвета.
Стоит отметить, что кнопки фиксатора магазина и предохранителя двухсторонние, то есть дублируются на противоположной части рамки. Другими словами, разработчики предусмотрели удобство использования как для правшей, так и левшей. Поэтому к данному маркеру применим термин «амбидекстральный».
Основным отличием маркера T9 является его модульность. Данную модель можно апгрейдить вплоть до габаритов карабина. Изначально предусмотрена возможность изменять длину ствола. Для этого на дульный срез можно «накрутить» удлинитель ствола (extended barrel), либо заменить штатный ствол на другой, большей длины (снайперский). Ствол выполнен быстросъёмным, крепится в корпусе специальными упорами. Есть данные, что вначале ни один сторонний производитель не предлагал альтернативные стволы для маркеров марки Tiberius Arms. А «родные» стволы были не лучшего качества.

У T9 предусмотрена и возможность присоединения приклада. Для этого, на тыльной части кожуха установлен узел крепления приклада (Stock Adapter). Этот же узел позволяет подавать рабочий газ непосредственно в клапан, поэтому можно присоединить как обычный приклад, так и приклад со встроенным баллоном. Также возможно подключение мамбы для внешнего баллона HPA и установка фидера для шаров.

Маркер Tiberius Arms T9.1 в комплектации «Снайперская винтовка»
Обратите внимание на приклад с баллоном

Также обратите внимание на наличие планки Пикатинни на кожухе маркера T9. Рельсовый интерфейс (RIS) для навесного оборудования и аксессуаров является стандартным для данной модели. Под стволом расположен винт с рифлёной головкой, который служит для крепления удлинённого цевья (front shroud). В результате получается винтовка, как показано на фото выше.
Обслуживание изделия
Для оптимальной работы изделия производитель рекомендует ежемесячно смазывать его детали небольшим количеством масла. Для этого маркер нужно разрядить, разобрать и добавить по 1 капле масла на:
— элементы спускового механизма (Between trigger & Trigger rotator);
— регулятор давления и уплотнительное кольцо (Regulator spring pad & Regulator spring pad O-Ring);
— затвор и уплотнительное кольцо (Grease the AC Cap O-Ring);
— выпускной клапан магазина и уплотнительное кольцо (CO2 O-Ring & top of CO2 valve Magazine).
Недостатки
Любое изделие обладает не только достоинствами, но и недостатками. Есть свои минусы и у газобаллонной пневматики.
Газобаллонная пневматика (с CO2) исправно работает при плюсовой температуре окружающей среды. А при минусовой температуре газ сжижается и в результате падает мощность выстрела. Например, в инструкции к пистолету МР-654К (аналог ПМ, ИжМех) указан оптимальный диапазон от +10 до +30°C. При температуре свыше +30°C также возможно временное снижение скорости вылета первых пуль.
Для обеспечения долговечности уплотнителей не рекомендуется хранить длительное время магазин с присоединённым баллончиком с CO2.
За пояснениями автор обратился в концерн «Калашников». Сотрудник концерна, Дмитрий Писцов, на примере модели МР-654К сообщил о некоторых особенностях обслуживания отечественной пневматики. После накола баллона — его рекомендуется полностью отстрелять. Хранить пистолет с «проколотым» баллоном не рекомендуется, иначе со временем уплотнители начнут травить. При соблюдении данного условия их замена потребуется нескоро. Смазывать изделие достаточно раз в полгода: для профилактики. Либо в случае попадания воды.
Маркер Tiberius T4
Производила компания Tiberius Arms и маркер в формате карабина (имитацию M4/М16). Речь о модели Tiberius T4. Помните, в начале статьи упоминалась модель FN T4, которая не пошла в серию, но фигурировала в новости о записи на курс обучения? Видимо вначале в FN Herstal планировали выпускать его под своей маркой, но затем планы изменились. К теме пистолетов для пейнтбола данная модель не относится, однако она послужила базой для создания «полноформатных» маркеров сторонними производителями.

Карабин Tiberius T4. Обратите внимание на форму магазина

По большому счёту, в карабине T4 использованы те же механизмы, что и в пистолетах Tiberius Arms. Практически та же болтовая группа и спусковой механизм. Регулятор давления также расположен в тыльной части кожуха и есть возможность подачи боеприпасов из фидера (опция). Даже подача боеприпасов и рабочего газа тоже осуществляется из магазина. Основным отличием является его расположение: перед спусковой скобой. Оно и понятно, ведь пистолет и карабин отличаются как габаритами, так и компоновкой.

Вырезка из инструкции к карабину T4
Магазин снаряжается боеприпасами (10 снарядов, а позже и на 14). В него же вставляется и контейнер (carrier) с 12-граммовым баллоном CO2. Из-за контейнера с баллоном форма магазина не изогнутая, а прямая.
Есть ещё несколько моделей, о которых есть что рассказать. Читайте о них в следующей части.
Продолжение следует...
Автор благодарит за консультации:
Bongo (Сергея Линника)
Дмитрия Писцова (концерн «Калашников»)
FN 303 и FN 303-P Официальный ролик FN Herstal:
Демонстрация Tiberus Tac8. Любительское видео:
Полная разборка маркера Tiberius Т8:
Тактический пейнтбол и нелетальная система UTPBS
Взято: Тут
36