Своими руками: Как сделать рабочее место у окна ( 23 фото )
Все, что нужно для небольшого письменного стола — несколько досок и окно без подоконника.

Предположим, у вас есть свободное место у окна и вы любите писать или рисовать. Но у вас нет небольшого письменного стола, за которым было бы удобно работать дома, наслаждаясь естественным светом и видом из окна. Так почему бы не доставить себе радость и не сделать рабочее место своими руками?

Чтобы определиться с размерами стола, прежде всего нужно измерить окно. Тогда вы сможете посчитать, сколько досок вам понадобится, и какого они должны быть размера. В нашей модели мы запланировали открытые отсеки внутри стола, куда можно положить рисунки или тетради.
Прибавьте несколько сантиметров по бокам, чтобы вам было куда поставить цветы, стакан с карандашами или настольную лампу для работы по вечерам.

Письменный стол у окна своими руками — мастер-класс
Инструменты:


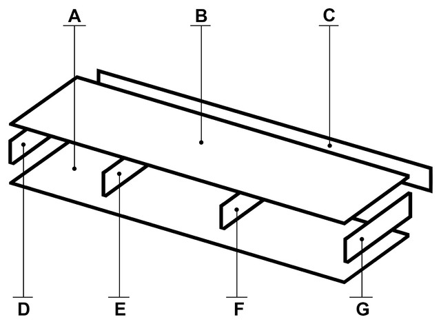
Шаг 1. Распиливаем горизонтальные доски
Выпилите две панели (на плане они обозначены буквами A и B) длиной 1100 мм из сосновой доски. Отложите их.

Шаг 2. Выпиливаем заднюю и боковые стенки
Выпилите четыре планки (D, E, F и G на плане) длиной 280 мм из узкой сосновой доски. Теперь из той же доски выпилите заднюю стенку (С) длиной 1100 мм.

Шаг 3. Выпиливаем ножки
Из дубовой штанги сделайте две ножки, каждая длиной 630 мм.


Шаг 4. Отмечаем отверстия для болтов
Возьмите доску В и просверлите отверстия с фаской согласно инструкции, приведенной выше. Отверстия, прилегающие к границе, должны располагаться на расстоянии 10 мм от края доски.

Используйте специальное сверло для создания отверстия с фаской, тогда у вас получится красивая и гладкая поверхность. Саморез зайдет до конца, его головка заглубится в дерево и не нарушит волокна.

Шаг 5. Соединяем детали
На верхнюю грань задней стенки С нанесите клей для дерева.

Шаг 6. Фиксируем детали
С помощью четырех саморезов прикрутите доску В к задней стенке С.

Шаг 7. Проклеиваем все детали
Нанесите клей на две соседние стороны деталей D, E, F и G.


Шаг 8. Собираем мебель
Каждую из приклеенных планок закрепите с помощью двух саморезов. Чтобы склеенные детали держались крепко, перед тем как вкручивать саморезы, зафиксируйте их с помощью небольших зажимов.

Шаг 9. Укрепляем конструкцию
Закрепите каждую планку D, E, F и G, вкрутив еще по одному саморезу сзади.

Шаг 10. Крепим ножки
В центре каждого бокового отделения просверлите отверстие диаметром 8 мм.

Теперь с помощью больших саморезов прикрутите две ножки, используя для этого просверленные отверстия. Во время работы удерживайте ножки как можно крепче.

Шаг 11. Фиксируем письменный стол у стены
Поставьте стол к стене и отметьте его высоту карандашом. Отступите от метки 40 мм и просверлите в стене два отверстия, используя сверла по бетону. Расстояние по горизонтали между отверстиями для дюбелей должно быть 800 мм. Вставьте дюбели в отверстия.

Теперь перенесите метки на внутреннюю сторону задней стенки С нашего столика. С помощью длинных саморезов прикрепите стол к стене таким образом, чтобы саморез прошел сквозь дерево и его конец оказался в дюбеле.

Шаг 12. Приклеиваем верхнюю планку
На верхние грани наших деталей C, D, E, F и G нанесите клей для дерева и приклейте столешницу рабочего стола.

С помощью зажимов зафиксируйте положение столешницы. Подождите несколько часов, пока клей подсохнет, и снимите зажимы.

Осталось найти подходящий стул, несколько стаканов для карандашей и любимое горшечное растение. Теперь вы можете работать при дневном свете.

Предположим, у вас есть свободное место у окна и вы любите писать или рисовать. Но у вас нет небольшого письменного стола, за которым было бы удобно работать дома, наслаждаясь естественным светом и видом из окна. Так почему бы не доставить себе радость и не сделать рабочее место своими руками?

Чтобы определиться с размерами стола, прежде всего нужно измерить окно. Тогда вы сможете посчитать, сколько досок вам понадобится, и какого они должны быть размера. В нашей модели мы запланировали открытые отсеки внутри стола, куда можно положить рисунки или тетради.
Прибавьте несколько сантиметров по бокам, чтобы вам было куда поставить цветы, стакан с карандашами или настольную лампу для работы по вечерам.

Письменный стол у окна своими руками — мастер-класс
Инструменты:
- дрель или шуруповёрт со сверлами для работы по дереву и бетону;
- несколько зажимов;
- ножовка;
- рулетка;
- карандаш;
- сверло для высверливания отверстия с фаской.
- 2 широких сосновых доски размером 1100x300x18 мм;
- 1 узкая доска из сосны размером 2400x70x20 мм;
- штанга из дуба диаметром 35 мм;
- клей для дерева;
- несколько саморезов 4x50;
- 4 самореза 5x60;
- 2 дюбеля.


Шаг 1. Распиливаем горизонтальные доски
Выпилите две панели (на плане они обозначены буквами A и B) длиной 1100 мм из сосновой доски. Отложите их.

Шаг 2. Выпиливаем заднюю и боковые стенки
Выпилите четыре планки (D, E, F и G на плане) длиной 280 мм из узкой сосновой доски. Теперь из той же доски выпилите заднюю стенку (С) длиной 1100 мм.

Шаг 3. Выпиливаем ножки
Из дубовой штанги сделайте две ножки, каждая длиной 630 мм.


Шаг 4. Отмечаем отверстия для болтов
Возьмите доску В и просверлите отверстия с фаской согласно инструкции, приведенной выше. Отверстия, прилегающие к границе, должны располагаться на расстоянии 10 мм от края доски.

Используйте специальное сверло для создания отверстия с фаской, тогда у вас получится красивая и гладкая поверхность. Саморез зайдет до конца, его головка заглубится в дерево и не нарушит волокна.

Шаг 5. Соединяем детали
На верхнюю грань задней стенки С нанесите клей для дерева.

Шаг 6. Фиксируем детали
С помощью четырех саморезов прикрутите доску В к задней стенке С.

Шаг 7. Проклеиваем все детали
Нанесите клей на две соседние стороны деталей D, E, F и G.


Шаг 8. Собираем мебель
Каждую из приклеенных планок закрепите с помощью двух саморезов. Чтобы склеенные детали держались крепко, перед тем как вкручивать саморезы, зафиксируйте их с помощью небольших зажимов.

Шаг 9. Укрепляем конструкцию
Закрепите каждую планку D, E, F и G, вкрутив еще по одному саморезу сзади.

Шаг 10. Крепим ножки
В центре каждого бокового отделения просверлите отверстие диаметром 8 мм.

Теперь с помощью больших саморезов прикрутите две ножки, используя для этого просверленные отверстия. Во время работы удерживайте ножки как можно крепче.

Шаг 11. Фиксируем письменный стол у стены
Поставьте стол к стене и отметьте его высоту карандашом. Отступите от метки 40 мм и просверлите в стене два отверстия, используя сверла по бетону. Расстояние по горизонтали между отверстиями для дюбелей должно быть 800 мм. Вставьте дюбели в отверстия.

Теперь перенесите метки на внутреннюю сторону задней стенки С нашего столика. С помощью длинных саморезов прикрепите стол к стене таким образом, чтобы саморез прошел сквозь дерево и его конец оказался в дюбеле.

Шаг 12. Приклеиваем верхнюю планку
На верхние грани наших деталей C, D, E, F и G нанесите клей для дерева и приклейте столешницу рабочего стола.

С помощью зажимов зафиксируйте положение столешницы. Подождите несколько часов, пока клей подсохнет, и снимите зажимы.

Осталось найти подходящий стул, несколько стаканов для карандашей и любимое горшечное растение. Теперь вы можете работать при дневном свете.









