Алексей231
B-21 Raider: бомбардировщик или нечто большее? ( 20 фото )

Вехи развития
Наличие у государства стратегической бомбардировочной авиации можно отнести к одним из признаков, характеризующих глобальные амбиции страны. Они есть в арсеналах США и России (СССР), в отстающих находится Китай, но он прикладывает огромные усилия для того, чтобы обзавестись этим типов вооружений. Для других стран мира стратегические бомбардировщики остаются непозволительной роскошью.

Реликты холодной войны: бомбардировщики Ту-95 и B-52
Вопрос необходимости существования стратегических бомбардировщиков неоднократно поднимался. С одной стороны, появились МБР, которые обеспечивали несравнимо более быструю доставку ядерных зарядов, с другой стороны, сдерживающим фактором стало интенсивное развитие средств противовоздушной обороны (ПВО) в виде зенитно-ракетных комплексов (ЗРК).
Всё вышеперечисленное, с одной стороны, привело к отказу от сверхвысокотехнологичных проектов стратегических бомбардировщиков типа советского Т-4 (изделие 100) ОКБ Сухого или американского North American XB-70 Valkyrie, с другой стороны, не привело к отказу от стратегических бомбардировщиков в принципе.

Нереализованные проекты стратегических бомбардировщиков: советский Т-4 ОКБ Сухого и американский North American XB-70 Valkyrie
Эффективность стратегических бомбардировщиков значительно выросла после появления стратегических крылатых ракет, которые позволяли атаковать с большого расстояния, без захода в зону ПВО противника.
Тем не менее, задача по прорыву ПВО не снималась. В поисках путей её решения рассматривались различные варианты: высотный бросок на сверхзвуковой скорости, полёт в режиме огибания рельефа местности, или комбинация этих способов. Это привело к появлению у СССР и США одновременно похожих, но в то же время достаточно сильно различающихся стратегических бомбардировщиков нового поколения, Ту-160 и B-1B соответственно, с изменяемой геометрией крыла.

Стратегические бомбардировщики Ту-160 и B-1B
Тем не менее, в условиях противодействия современной ПВО шансов на выживание у Ту-160 и B-1B скорее всего немного, вследствие чего в войне между СССР и США они скорее всего смогли бы применяться только как платформы для запуска крылатых ракет. При этом сложность и стоимость их эксплуатации, а также стоимость лётного часа были значительно выше, чем у «древних», хоть и модернизированных Ту-95 и B-52.
В дальнейшем строительство новых советских машин затормозилось развалом СССР, а США сделали ставку на максимальное внедрение технологий снижения заметности «стелс» (stealth), результатом чего стало появление самого дорогого в истории авиации бомбардировщика B-2 Spirit от компании Northrop Grumman. Стоимость одного бомбардировщика B-2 Spirit составляет свыше 2,3 млрд. долларов в текущих ценах.

Бомбардировщик B-2 Spirit
Можно сказать, что развал СССР вкупе с запредельной стоимостью «похоронили» проект: вместо планирующихся к закупке 132 единиц был выпущен всего 21 самолёт. Более того, сложность и стоимость эксплуатации B-2 оказалась ещё выше, чем у B-1B. Всё это привело к тому, что более «молодые» B-1B и B-2 окажутся «на пенсии» раньше, чем древний B-52.
Тем не менее, очевидно, что концепция ультимативно малозаметного стратегического бомбардировщика себя оправдала в глазах руководства военно-воздушных сил (ВВС) США, поскольку разрабатываемый новейший бомбардировщик B-21 визуально является продолжателем концепции бомбардировщика B-2.
B-21 Raider

Перспективный бомбардировщик B-21 Raider должен стать «идеологическим наследником» бомбардировщика B-2. Новый бомбардировщик разрабатывается в рамках программы LRS-B, как B-21 он впервые был упомянут в 2016 году, когда ВВС США заключили контракт на его разработку с компанией Northrop Grumman.
Планируемый объём закупок B-21 составляет порядка 80-100 машин, с возможностью увеличения портфеля заказов до 145 машин. В конечном итоге объём закупок, скорее всего, будет связан с итоговой ценой боевой машины и её фактическими возможностями.
Предположительно B-21 должен вобрать в себя всё лучшее от B-2 и при этом быть дешевле по стоимости закупки и эксплуатации. Снижения стоимости планируется добиться за счёт уменьшения размерности нового бомбардировщика и его грузоподъёмности, а также частичной унификации с другими самолётами американских ВВС. В частности, в качестве силовой установки предполагается использовать два двигателя Pratt&Whitney F135 от истребителя пятого поколения F-35. Другая возможная альтернатива – это силовая установка Pratt&Whitney PW9000, разрабатываемая на базе «гражданского» двигателя Pratt&Whitney PW1000G, с применением технологий упомянутого Pratt&Whitney F135.

Двигатель Pratt&Whitney F135 истребителя F-35
Исходя из опубликованных изображений аналитики предполагают, что бомбардировщик B-21 оптимизирован для полётов на средних и больших высотах. Считается, что изначально такой компоновкой обладал и проект B-2, но требование ВВС по обеспечению полёта на малых высотах потребовали усложнения конфигурации задней кромки.

Предполагаемые габариты и форма B-21 по сравнению с B-2

Проекции бомбардировщика B-21 Raider
Сборка первого прототипа бомбардировщика B-21 Raider должна быть завершена в 2021 году, а в первый полёт он должен отправиться в 2022 году.

Знак различия 420-й летно-испытательной эскадрильи ВВС США, получившей обозначение «Объединенная испытательная группа B-21»
Если информация об оптимизации конструкции бомбардировщика B-21 для полётов на средних и больших высотах соответствует действительности, то это подтверждает выводы, сделанные в статье «Куда уйдёт боевая авиация: прижмётся к земле или наберёт высоту?»
Penetrating Counter Air
В исследовании, сделанном внепартийным бюджетным управлением Конгресса США и опубликованном Defense News, упоминается о перспективном истребителе, предназначенном для глубокого проникновения на территорию противника – Penetrating Counter Air (PCA), который должен заменить как F-22 Raptor, так и F-15 Eagle. Эта машина задумывается как ультимативное средство для завоевания превосходства в воздухе, способное противостоять новейшим разработкам России и КНР, причём непосредственно над территорией противника. Задачи по поражению наземных целей в этом случае будут возложены на самолёты F-35 и B-21.

Концепт самолёта Penetrating Counter Air
Предположительно истребитель PCA должен быть крупнее F-22 Raptor и F-15 из-за необходимости нести во внутренних отсеках большой запас вооружения и топлива. Его предполагаемая стоимость должна составлять 300 миллионов долларов за самолет.
Проект истребителя Penetrating Counter Air в чём-то схож с перспективным боевым самолётом, рассмотренным в статье «Концепт боевого самолёта 2050 года и оружие на новых физических принципах».
Появление истребителя Penetrating Counter Air, скорее всего, будет зависеть от того, каких успехов добьются в своём развитии ВВС России и КНР. Ведь если внутриэкономическая ситуация в РФ и усиливающееся санкционное давление США на Китай смогут сдержать развитие противостоящих США ВВС, то какой смысл закупать самолёты по 300 миллионов долларов за штуку? Их задачи вполне смогут решить модернизированные F-22 и F-35 с новым вооружением.
Кроме того, возможно, что авиационное прикрытие бомбардировщику B-21 Raider не так уж и необходимо.
Особые возможности B-21
Существует ряд предположений, относящихся к проекту бомбардировщика B-21. Среди них можно выделить информацию о вооружении этого бомбардировщика ракетами воздух-воздух, что позволит ему противостоять истребителям противника, лазерным оружием, которое позволит обеспечить самооборону бомбардировщика от ракет воздух-воздух и земля-воздух, а также кинетическими средствами противоракетной обороны.
Для обеспечения эффективной работы по наземным и воздушным целям бомбардировщик B-21 должен быть оборудован радиолокационной станцией (РЛС) с активной фазированной антенной решёткой (АФАР). Можно предположить, что она будет разработана на базе существующих РЛС AN/APG-77 и AN / APG-81, установленных, соответственно, на истребителях F-22 и F-35. Обе эти РЛС разработаны компанией Northrop Grumman, той же самой, что разрабатывает бомбардировщик B-21.

РЛС с АФАР AN/APG-77 и AN / APG-81, установленные, соответственно, на истребителях F-22 и F-35
Учитывая то, что габариты бомбардировщика B-21 превосходят габариты истребителей F-22 и F-35, в составе перспективной РЛС может быть установлено значительно большее количество приёмо-передающих модулей (ППМ), что, в свою очередь, позволит увеличить мощность РЛС, а значит и её возможности по обнаружению целей и постановке помех. В свою очередь, массогабаритные ограничения современных истребителей не позволят установить на них сравнимую по характеристикам РЛС. Это возможно только в самолётах большей размерности, таких, как упомянутый Penetrating Counter Air или российский МиГ-41/ПАК ДП.

Неофициальные концепты МИГ-41 / ПАК ДП
Также бомбардировщик B-21 может быть оснащён оптико-локационными станциями (ОЛС), аналогичными AN/AAQ-37 и AAQ-40, установленным на истребителе F-35. Их разработку компания Northrop-Grumman осуществляла совместно с компанией Lockheed-Martin. Высочайшая чувствительность указанных систем позволила на испытаниях обнаружить запуск баллистической ракеты с расстояния 1300 километров, а также засекать выстрелы из танковых орудий. Оптоэлектронные системы истребителя F-35 позволяют с высокой эффективностью обнаруживать самолёты противника, а также ракеты класса воздух-воздух и земля-воздух.

За свои выдающиеся характеристики ОЛС истребителя F-35 получили название «Божий глаз»
Помимо возможностей ведения радиоэлектронной борьбы (РЭБ) с помощью РЛС, размеры бомбардировщика B-21 позволяют разместить на нём и дополнительные, специализированные средства РЭБ.
Вооружение воздух-воздух
«Новый стратегический бомбардировщик-невидимка ВВС США B-21 Raider будет иметь возможность вести бой в воздухе, как и современные истребители. Об этом в статье для журнала Air Force Magazine рассказал генерал-майор Скотт Л. Плеус. 2019 г.».
В качестве средств поражения воздушных целей бомбардировщик B-21 может получить усовершенствованные версии ракет AIM-120 AMRAAM или ракету MBDA Meteor с прямоточным воздушно-реактивным двигателем (ПВРД) в случае, если данная ракета будет адаптирована к требованиям американского законодательства. Но гораздо более вероятно, что основным оружием воздух-воздух бомбардировщика B-21 станет разрабатываемая компанией Raytheon ракета Peregrine, оснащённая многорежимной головкой самонаведения (ГСН). При характеристиках дальности, соответствующих ракете средней дальности AIM-120, и характеристиках маневренности, соответствующих ракете малой дальности AIM-9X, ракета Peregrine должна иметь в два раза меньшие массогабаритные характеристики, по сравнению с ракетой AIM-120, что позволит удвоить боекомплект истребителей F-22 и F-35. Соответственно, бомбардировщик B-21 может нести значительное количество таких ракет.

Концепт ракеты Peregrine
Учитывая потенциальные возможности РЛС и ОЛС бомбардировщика B-21 по обнаружению воздушных целей на большом расстоянии, его боекомплект может быть дополнен ракетами большой дальности AIM-260 JATM (Joint Advanced Tactical Missile), которые должны прийти на смену ракете AIM-120D. Ракета AIM-260 должна иметь дальность стрельбы порядка 200 километров, при сохранении габаритов ракеты AIM-120D.
Не меньший, а, возможно, и больший интерес представляют ракеты, предназначенные для самообороны носителя путём перехвата подлетающих ракет воздух-воздух и земля-воздух.
Кинетические системы активной обороны
Компания Raytheon заключила контракт с ВВС США на разработку малогабаритной ракеты MSDM (Miniature Self-Defense Munition) длиной порядка одного метра, предназначенной для перехвата ракет противника методом прямого попадания (Hit-to-Kill). Разработка ракеты, а по сути противоракеты MSDM, должна быть завершена к концу 2023 года.

Габариты ракеты MSDM по сравнению с ракетами AIM-9X и AIM-120
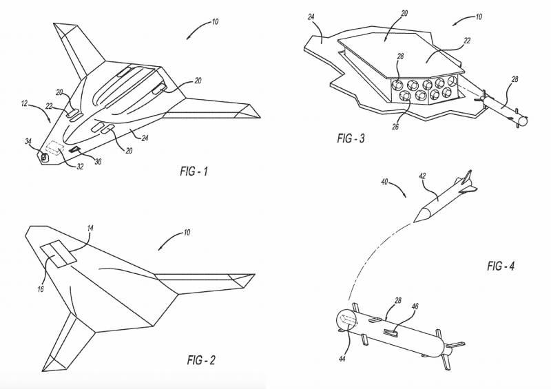
Ранее компания Northrop Grumman запатентовала кинетическую систему противоракетной защиты для самолетов-невидимок, которую можно сравнить с чем-то типа комплекса активной защиты (КАЗ) для танков. Предположительно этот патент имел отношение к запросу ВВС США по тематике, реализуемой в рамках создания ракет MSDM.
Предполагаемый комплекс противоракетной обороны должен включать в себя выдвигающиеся пусковые установки (ПУ) с малогабаритными противоракетами, ориентированными в разные стороны, для обеспечения круговой обороны самолёта. В убранном положении ПУ не увеличивают заметность носителя.

Изображение из патента Northrop Grumman на кинетическую систему противоракетной защиты для самолетов-невидимок
В пусковых установках должны размещаться малогабаритные противоракеты, маневрирующие ложные цели, активные излучатели средств радиоэлектронной борьбы (РЭБ).
Предварительное целеуказание противоракетам должно выдаваться с РЛС и ОЛС носителя. После запуска и захвата цели ГСН противоракеты должны работать в полностью автономном режиме. Предположительно в противоракетах должна использоваться многодиапазонная ГСН, включающая активную радиолокационную головку самонаведения (АРЛГСН), инфракрасную головку самонаведения (ИК ГСН) и систему наведения на излучение РЛС противника (например, на излучение АРЛГСН ракет воздух-воздух противника).
При этом предполагается, что у ракет MSDM будет только пассивное наведение на тепловое излучения (ИК ГСН). Н исключается, что оно будет дополнено возможностью наведения на источник радиолокационного излучения, тогда так АРЛГСН слишком дороги, чтобы размещать их на таких противоракетах.
Пока не ясно, будет ли ракета MSDM интегрирована в проект «авиационного КАЗ», запатентованного компанией Northrop Grumman, в рамках бомбардировщика B-21, или это будет отдельный проект компании Raytheon и ракеты MSDM будут запускаться из стандартных отсеков вооружений самолёта.
Оружие на новых физических принципах
Вооружённые силы США в целом и ВВС в частности активно стремятся к оснащению боевой техники лазерным оружием.
Вопреки мнению скептиков, работы в этом направлении ведутся очень активно, и результаты могут быть получены раньше, чем ожидается – появления серийных образцов лазерного оружия вполне можно ожидать в период с 2025 по 2030 годы. Учитывая сложность интеграции лазерного оружия в планер самолёта или вертолёта, можно ожидать, что в первую очередь появятся контейнерные образцы лазерного оружия. Таким образом, самолёты четвёртого поколения типа F-15, F-16 и F-18 могут получить лазерное оружие самообороны раньше, чем их «коллеги» пятого поколения F-22 и F-35.
Контейнерное исполнение лазерного оружия, размещённого на вертолёте AH-64 Apache
С другой стороны, можно предположить, что глубоко интегрированное в конструкцию летательных аппаратов лазерное оружие будет обладать значительно большими возможностями, по сравнению с контейнерными вариантами.
Считается, что лазерное оружие станет неотъемлемым элементов истребителей шестого поколения. Бомбардировщик B-21 должен появиться в промежуток между пятым и шестым поколением, и возможность размещения лазерного оружия как минимум будет учтена при его разработке.

Лазерное оружие дополнит кинетические системы самообороны и значительно повысит живучесть перспективных боевых и вспомогательных летательных аппаратов
В 2017 году компания Lockheed Martin выиграла контракт на 23,6 миллионов долларов на разработку лазера SHiELD (Self-Protection High Energy Laser Demonstrator), который может быть установлен на существующие и перспективные авиационные носители. Комплекс SHiELD состоит из трех подсистем: системы наведения лазера на цель (Northrop Grumman), системы питания и охлаждения (Boeing) и самого лазера (Lockheed Martin). Предполагается, что весь пакет будет готов к тестированию к 2023 году.

График разработки лазерного оружия ВВС США по состоянию на 2013 год
Учитывая сложность и стоимость программы создания бомбардировщика B-21, можно предположить, что часть потенциальных возможностей по применению оружия воздух-воздух, кинетической самообороне и применению лазерного оружия будет реализована сразу, часть будет внедряться поэтапно, пакетами, в процессе модернизации, при этом возможность такой модернизации будет планироваться изначально. Аналогичным образом сейчас поступают военно-морские силы США, изначально планируя размещение лазерного оружия в перспективных проектах кораблей, в ожидании его готовности к серийному производству.
В конечном итоге наличие продвинутых средств разведки, малой заметности, значительных запасов вооружения во внутренних отсеках, а также лазерных и кинетических оборонительных систем, превратит бомбардировщик B-21 в «летающую крепость» XXI века.
Выводы
Какие последствия будет иметь появление столь продвинутого самолёта, как бомбардировщик B-21, в случае получения им всех рассмотренных в статье возможностей?

Всё зависит от эффективности тех наступательных и оборонительных систем, которые будут на нём установлены. Если ВВС США почувствуют, что оборонительные системы B-21 способны эффективно защитить его от российских и китайских ракет воздух-воздух и земля-воздух, то можно ожидать увеличения случаев нарушения государственной границы России и Китая этими самолётами. Сдерживающим фактором здесь может стать только риск потери новейших технологий в случае неудачи, но тем значимее будет факт нарушения в случае, если он всё-таки произойдёт.
В случае получения B-21 Raider продвинутых возможностей по поражению воздушных целей и самообороне он может стать своего рода «летающим эсминцем» и играть ту же роль, что сейчас играют ракетные эсминцы в составе авианосной ударной группы (АУГ), т.е. по сути функция нанесения удара по наземным целям может стать вторичной, по отношению к возможностям по борьбе с авиацией противника.
В этом случае правильнее называть B-21 Raider не бомбардировщиком, и даже не бомбардировщиком-ракетоносцем, а стратегическим многофункциональным боевым авиационным комплексом.
Ударные функции в этом случае могут быть возложены на самолёты F-35 (в ближних миссиях) и на транспортные самолёты с возвращаемыми малозаметными беспилотными летательными аппаратами (БПЛА), которые мы рассматривали в статье Боевые «Гремлины» ВВС США: возрождение концепции воздушных авианосцев.
В достаточно крупногабаритный бомбардировщик B-21 могут быть установлены продвинутые средства разведки, сравнимые по эффективности с установленными на самолётах дальнего радиолокационного обнаружения (ДРЛО), мощные средства РЭБ, и значительно больший объём оружия воздух-воздух, чем может взять любой истребитель. Маневренность при наличии систем самообороны уже не будет являться критичным фактором, а заметность B-21 будет сравнима или меньше таковой у F-22, F-35, Су-57 или J-20.
В конечном итоге это может привести к существенному снижению роли лёгких истребителей в завоевании превосходства в воздухе и переориентации ВВС ведущих стран мира на достаточно крупные и тяжёлые истребители, ориентированные на завоевание превосходства в воздухе, поскольку лёгкие истребители не смогут бороться с тяжёлыми даже в группе, а задачи по нанесению ударов по наземным/надводным целям всё больше будут возлагаться на БПЛА.
В России самолётом, способным противостоять перспективным тяжёлым истребителям, а также самолётам B-21 Raider в случае получения ими всех рассмотренных в статье возможностей, потенциально может стать перспективный авиационный комплекс дальнего перехвата ПАК ДА в связке с БПЛА «Охотник», о чём мы поговорим в другом материале.
Автор:Андрей МитрофановИспользованы фотографии:nevskii-bastion.ru, topwar.ru, thedrive.comСтатьи из этой серии:Лазерное оружие: перспективы в военно-воздушных силах. Часть 2
Противостоять свету: защита от лазерного оружия. Часть 5
Боевые «Гремлины» ВВС США: возрождение концепции воздушных авианосцев
Лазерное оружие на боевых самолётах. Можно ли ему противостоять?
Концепт боевого самолёта 2050 года и оружие на новых физических принципах
Куда уйдёт боевая авиация: прижмётся к земле или наберёт высоту?
Авиационное исполнение боевого лазерного комплекса «Пересвет»: носители, цели, тактика применения
Эволюция ядерной триады: перспективы развития авиационного компонента СЯС РФ
Взято: Тут
372