Djprocessor
Украинцы раскрыли наш секрет: внутри брони российских танков обнаружены «доски» ( 9 фото )

На самом деле вся эта чепуха с досками и прочими пиломатериалами бурлила и кипела в украинском, а также частично нашем сегменте Интернета еще с апреля, если память не изменяет. Оно и понятно – им дай только повод, и они вцепятся как клещи. Поэтому внимание на эту ерунду обращать не хотелось. Тем не менее, что удивительно, даже спустя столь продолжительное время тема продолжает всплывать в разных милитари-сообществах, так что некоторую ясность внести все же придется.
Для тех, кто не в курсе, началось все это с видео, на котором был запечатлен подбитый российский танк, у которого разворотило лобовой узел корпуса. В результате наружу показался внутренний броневой наполнитель, принятый особо одаренными личностями за деревянные доски, а дальше понеслось. Причем те «хвалебные» эпитеты в адрес российского танкопрома, которые посыпались со стороны «разоблачителей», тут даже публиковать стыдно и в приличную форму не переделать.
Какие-то неправильные доски
Что же, если руководствоваться логикой тех, кто заявил о досках в российской броне, то получается, что львиная доля украинского танкового парка этими досками тоже оснащена. Внезапно можно обнаружить, что абсолютно все имеющиеся в ВСУ танки Т-64, будь то хоть старенькие «А-шки», хоть «Булаты» или Т-64БВ обр. 2017 года, отличаются высоким содержанием пиломатериалов в броне. Сюда же относятся переданные западными партнерами Т-72М/М1. Да чего уж мелочиться: даже «восьмидесятки», в числе которых легендарный «Оплот» – с проклятыми досками!
Сторонники конспирологических теорий, ваш выход. Возможно, от нас скрывают страшную тайну, что на советские, а теперь на российские и украинские танковые заводы работали секретные лесопилки, доставлявшие высококачественное дерево прямиком в сборочные цеха. Но если отбросить весь юмор, то никаких досок, разумеется, нет. Там броневой стеклотекстолит, скрывающийся под суровой аббревиатурой СТБ в отечественной специализированной литературе.

Броневой стеклотекстолит (вставки светлого цвета) в верхних лобовых деталях одной из модификаций Т-72
С этой штуковиной – стеклотекстолитом – сталкивался в своей жизни, пожалуй, каждый, поскольку легче назвать те отрасли промышленности, где он не применяется. Делают из него все, начиная от привычных нам печатных плат для электроники и заканчивая даже деталями для станков и изоляторами. Слои стекловолоконной ткани, скрепленные полимерным связующим составом, нашли свое применение и в бронетехнике. Правда, в данном случае используются высокопрочные сорта данного материала с плотностью до двух (и даже более) грамм на кубический сантиметр, которые встретить где-то в повседневной жизни очень проблематично.
При этом стоит отметить, что из-за слоистой структуры толстые стеклотекстолитовые листы, когда они до неузнаваемости запачканы грязью, копотью и прочим, действительно можно принять за доску по характерному срезу. Но никаким оправданием для той ахинеи, которую понесли в Интернете, это служить не может.
Зачем он там?
Сразу стоит отметить, что броневой стеклотекстолит в советских танках, доставшихся в наследство как нам, так и Украине, уже давным-давно не считается каким-то эффективным материалом для броневых преград. Последние остатки актуальности из него выжали еще в 80-е годы прошлого столетия, когда в производство пошли самые бронированные серийные танки СССР – Т-80У и его модификации. Тем не менее ему, как говорится, сто лет в обед.
Фактически серийное применение стеклотекстолита в качестве компонента брони началось с танка Т-64 в 1960-х годах прошлого столетия. Причиной тому послужил рост пробиваемости бронебойных снарядов, в особенности кумулятивных, которой противопоставить стальной монолит уже было невозможно – слишком сильно выросла бы масса танка. К слову, в перспективе для стального бронирования тогда вообще шансов оставалось мало: появилась и обзавелась целым спектром боеприпасов 105-мм нарезная пушка L7, быстро разошедшаяся по странам НАТО. Да и орудия постарше по мере развития «снарядостроения» тоже паритет брони и снаряда в свою пользу перетягивали.
Так что выход в виде внедрения неметаллических элементов в схему защиты боевой машины был единственным для сохранения ее приемлемой массы. Этим элементом и стал стеклотекстолит, который устанавливался исключительно в верхнюю лобовую деталь корпуса танков, тогда как по башням вариаций была масса: от экспериментов с твердыми стальными и алюминиевыми вставками до корунда, песка (в модификациях Т-72 и Т-80) и невзрывной реактивной брони в Т-72Б и Т-80У.

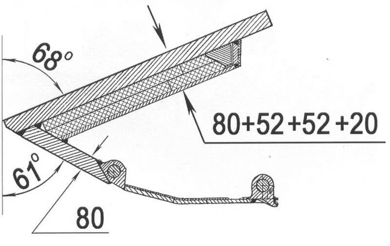
Лобовой узел корпуса Т-64. Показаны толщины стальных листов и текстолита
Сам по себе стеклотекстолит каких-то выдающихся противоснарядных свойств не показывает и работает только в сочетании со стальными листами, где его возможности раскрываются более полно. В пример тут как раз можно взять Т-64, верхняя лобовая деталь корпуса которого представляла собой слоеный пирог из внешнего стального листа толщиной 80 мм, двух листов стеклотекстолита общей толщиной 105 мм и тыльного подпорного стального 20-мм листа.
При общей толщине бронедетали 205 мм (с учетом угла наклона 68 градусов от вертикали уже 547 мм) она показывала неплохую для того времени стойкость около 430–450 мм против кумулятивных и в пределах 330 мм от подкалиберных бронебойных снарядов. И все это при существенно меньшей массе, чем у полностью стальной брони со сходной защитной способностью. Для этого тот же Т-55 или Т-62 должен был потолстеть во лбу корпуса в два с лишним раза – невеселая перспективка.
Достигались такие противокумулятивные показатели с участием стеклотекстолита за счет нескольких факторов. Однако, чтобы не повторяться, приведу цитату из опубликованного мной материала на другом ресурсе:
При пробитии типовой комбинированной преграды, которой в нашем случае является верхняя лобовая деталь Т-64 со стеклотекстолитом, происходят следующие процессы. Внедряясь в лицевой стальной бронелист, кумулятивная струя начинает расходоваться по типичному для стального массива сценарию с умеренным для начального этапа проникания касанием боковых стенок пробоины. Углубляясь, кумулятивная струя всё больше подвергается разрывным воздействиям из-за разности скоростей её элементов.
Преодолев стальной массив, головные элементы кумулятивной струи встречают на своём пути стеклотекстолитовый слой. Поскольку стеклотекстолит обладает куда меньшей плотностью, нежели броневая сталь средней твёрдости, несколько изменяется и характер проникания в него кумулятивной струи. Расход её головной части уменьшается, растёт удлинение струи и, как следствие, растёт и амплитуда её зигзагообразного движения, усиливается разделение на фрагменты и плотность контакта с краями пробоины. В результате кумулятивная струя, попав в среду с меньшей плотностью, начинает интенсивнее разрываться на фрагменты. Дополнительным струегасящим фактором выступают обломки стеклотекстолита в канале пробоины, пересекающие линию кумулятивной струи и оказывающие дополнительный разрывной эффект.
В конце пути обрывки струи встречает тыльный подпорный бронелист, выступающий в роли улавливающего экрана, пробить который они не способны.
По сути, стеклотекстолит в данном типе броневых преград является более эффективной заменой пустому пространству, как в разнесённой броне.

Разорванная на фрагменты кумулятивная струя после выхода из преграды, содержащей стеклотекстолит
Что же касается эффективности стеклотекстолита против подкалиберных снарядов, то в том слоеном пироге он выполнял скорее функцию своеобразного денормализатора коротких твердосплавных сердечников, искривляя их траекторию в броне в сторону параллели с наклоном броневых листов со всеми вытекающими оттуда последствиями в виде разрушения ударника под действием деформирующих сил. Впрочем, иногда случалось и диковинное явление – рикошет сердечника от одного из стеклотекстолитовых листов, но это скорее исключение из правил. На более современные снаряды текстолит так, включая также денормализацию, не действует.

Подвергнутый денормализации и изогнутый тяжелосплавный сердечник в стеклотекстолите
Не только «шестьдесятчетверка»
Собственно говоря, начиная с Т-64 стеклотекстолит прочно прописался в советских танках на долгие десятки лет, хотя его дальнейшее применение потребовало внесения значительных изменений в конструкцию брони. Тем не менее схожая схема, хоть и с некоторым расхождением по толщинам листов и миллиметрам противоснарядных эквивалентов, присутствовала у ранних вариантов Т-72 – например, экспортных и производимых по лицензии в других странах Т-72М/М1, предназначавшихся для внутреннего потребителя Т-72А, а также первых модификаций танков Т-80.
Однако бронепробиваемость снарядов неуклонно росла, да и физические свойства боеприпасов – подкалиберных снарядов – тоже менялись, что вынуждало искать новые варианты защиты. Но от стеклопластика (как часто называют стеклотекстолит) отказываться не собирались. Те машины, которые уже были выпущены и находились в строю, подвергались доработке: на верхнюю лобовую деталь корпуса просто наваривалась дополнительная стальная плита. У серий Т-80 и Т-64 ее толщина составляла 30 мм, а у Т-72 – 16 мм. Новые же, что вполне логично, имели уже обновленные защитные структуры.

Состав бронирования верхних лобовых деталей корпуса Т-72А и соответствующих ему экспортных вариантов. Голубым цветом обозначена 16-мм стальная плита, которая наваривалась в ходе доработки

Состав бронирования верхних лобовых деталей корпуса советских танков Т-64 и Т-80. Серым цветом обозначена сталь, желтым – стеклотекстолит, синим – доп. стальная плита после доработки выпущенных машин
Так, ближе к середине 1980-х годов в серию пошли танки Т-64Б (БВ) с улучшенной лобовой броней корпуса, которая строилась по схеме «сталь + стеклотекстолит + сталь + стеклотекстолит + сталь». Такой пятислойный композит за счет перераспределения толщин и разности в плотностях материалов давал существенную прибавку в стойкости в первую очередь против подкалиберных снарядов, которая выросла по разным оценкам до 480–500 мм. От кумулятивных боеприпасов цифры примерно те же, что и от подкалиберных, но с применением комплекса навесной динамической защиты «Контакт» стойкость даже могла превысить 800 мм.

Вырез в верхней лобовой детали корпуса Т-64БВ. Видна пятислойная структура брони из стали и стеклотекстолита

Да, в Т-80У тоже есть эти стеклотекстолитовые «доски»
Похожий принцип многослойности использован при построении лобовой защиты и самого защищенного серийного танка СССР – Т-80У/УД и его модификаций. Правда, там показатели очень намного выше тех, что у модифицированных «шестьдесятчетверок». Они даже превышают таковые у машин иностранного производства 80-х годов. В том числе «Леопардов 2» и британских «Челленджеров».
В общем-то, легендарный украинский «Оплот» можно отнести сюда же, поскольку он является доработанной версией Т-80УД. Хотя есть у него и отличие: один слой текстолита из лобовой бронедетали корпуса был выдран и заменен на слой динамической защиты «Дуплет».
Так что да, «доски» – дело такое. Везде их напихали, а они еще и работают с обеих сторон конфликта. Впрочем, есть у нас танки, которые могут удивить: Т-72Б/Б1 и их модернизированная версия в лице Т-72Б3, оснащенные невзрывной реактивной (полуактивной) броней в корпусе и башне. Поскольку в ее составе присутствуют подобные резине компоненты, страшно даже представить, какую «сенсацию» при обнаружении оной раздуют рассказчики про пиломатериалы в русских танках.
Источники информации:
«Частные вопросы конечной баллистики» В. А. Григорян, А. Н. Белобородько и др.
«Защита танков» В. А. Григорян, Е. Г. Юдин и др.
Автор:Эдуард ПеровИспользованы фотографии:btvt.narod.ru / dzen.ru / warspot.ru / минобороны.рф
Взято: Тут
201