Ironsmasher
В Samsung придумали гибкий смартфон со съёмной камерой ( 5 фото )
Управление США по патентам и торговым маркам (USPTO) выдало компании Samsung патент на смартфон с очень необычной конструкцией.

Речь идёт об аппарате с гибким корпусом. Причём как можно видеть на иллюстрациях, сопровождающих документ, устройство сможет изгибаться в двух местах — в верхней и нижней частях корпуса.

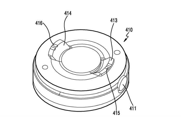
Главной же особенностью новинки станет съёмная основная камера. Благодаря специальному креплению пользователи смогут подсоединять оптический блок тогда, когда это необходимо.

Теоретически такой подход позволит устанавливать различные объективы для съёмки в тех или иных условиях. Кроме того, будет возможно применение оптики с трансфокацией в большом диапазоне.

Изображения говорят о том, что съёмный объектив имеет довольно большие размеры. Поэтому на практике такое решение может оказаться спорным.

Впрочем, пока необычный смартфон Samsung существует только на бумаге. О возможных сроках его появления на коммерческом рынке ничего не сообщается. Вероятнее всего, устройство останется дизайнерской разработкой.

Речь идёт об аппарате с гибким корпусом. Причём как можно видеть на иллюстрациях, сопровождающих документ, устройство сможет изгибаться в двух местах — в верхней и нижней частях корпуса.

Главной же особенностью новинки станет съёмная основная камера. Благодаря специальному креплению пользователи смогут подсоединять оптический блок тогда, когда это необходимо.

Теоретически такой подход позволит устанавливать различные объективы для съёмки в тех или иных условиях. Кроме того, будет возможно применение оптики с трансфокацией в большом диапазоне.

Изображения говорят о том, что съёмный объектив имеет довольно большие размеры. Поэтому на практике такое решение может оказаться спорным.

Впрочем, пока необычный смартфон Samsung существует только на бумаге. О возможных сроках его появления на коммерческом рынке ничего не сообщается. Вероятнее всего, устройство останется дизайнерской разработкой.
Взято: Тут
0